Geben Sie hier Ihre MwSt.-Nummer ein und klicken Sie auf Überprüfen:
Sie brauchen den Ländercode Ihrer MwSt.-Nummer nicht einzugeben, da dieser bereits oben in Ihrer Rechnungsadresse ausgewählt wurde.
Ihre Angaben wurden überprüft. MwSt.-Nummer registriert auf:
,
.
Ihre Bestellung ist nun mehrwertsteuerfrei. Wir behalten uns das Recht vor, diese Angaben nach Ihrer Bestellung zu überprüfen und gegebenenfalls die Mehrwertsteuer wieder einzuführen.
Ihre MwSt.-Angaben wurden nicht erkannt oder waren ungültig. Ihre MwSt.-Nummer muss mit Ihrem Rechnungsland übereinstimmen, wie oben angegeben. Dies ist derzeit als angegeben. Sie brauchen den Ländercode Ihrer MwSt.-Nummer nicht einzugeben, da Sie diesen bereits in den Angaben zu Ihrer Rechnungsadresse oben ausgewählt haben.
Der Dienst zur Überprüfung von MwSt.-Nummern ist derzeit offline. Bitte geben Sie Ihre MwSt.-Daten im Feld „Kommentare“ oder „Besondere Hinweise“ unten an, und wir werden nach Ihrer Bestellung einen MwSt.-Rabatt gewähren.
Ölkühlerlüfter und Gehäuse
- Porsche 964 (911) C2 1989-93
- Porsche 964 (911) C4 1989-93
- Porsche 964 (911) RS 3.6L 1991-93
- Porsche 964 (911) RS 3.8L 1991-93
- Porsche 964 (911) TURBO 3.3L 1991-93
- Porsche 964 (911) TURBO 3.6L 1991-93
- Porsche 993 (911) C2 1994-97
- Porsche 993 (911) C4 1994-97
- Porsche 993 (911) RS 1994-97
- Porsche 993 (911) C2S 1994-97
- Porsche 993 (911) C4S 1994-97
- Porsche 993 (911) TURBO 1994-96
- Porsche 993 (911) GT2 1994-97
- Porsche 993 (911) TURBO S 1994-97

Passform:
Porsche 964 1989-94
Porsche 993 1995-98
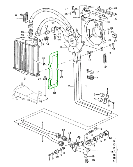
Klicken Sie auf „Vergrößern“, um das Diagramm großer Teile anzuzeigen.
Diagramm Ref. Nr. 28
Zugehörige Referenznummern
Verwandte, ersetzte, Querverweisoder Alternativnummern zum Vergleich.
96420722302
Das von Ihnen angezeigte Produkt verweist auf diese Nummern
- Porsche 964 (911) C2 1989-93
- Porsche 964 (911) C4 1989-93
- Porsche 964 (911) RS 3.6L 1991-93
- Porsche 964 (911) RS 3.8L 1991-93
- Porsche 964 (911) TURBO 3.3L 1991-93
- Porsche 964 (911) TURBO 3.6L 1991-93

Passend für:
Porsche 964 1989-94
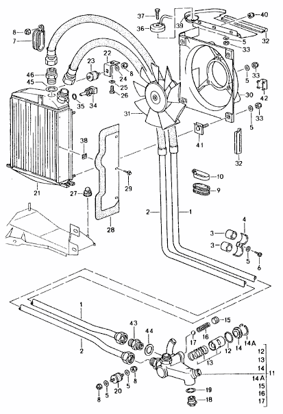
Klicken Sie auf „Vergrößern“, um ein Diagramm mit großen Teilen anzuzeigen.
Diagramm Ref. Nr. 39.
Zugehörige Referenznummern
Verwandte, ersetzte, Querverweisoder Alternativnummern zum Vergleich.
96457552202
Das von Ihnen angezeigte Produkt verweist auf diese Nummern
- Porsche 964 (911) C2 1989-93
- Porsche 964 (911) C4 1989-93
- Porsche 964 (911) RS 3.6L 1991-93
- Porsche 964 (911) RS 3.8L 1991-93
- Porsche 964 (911) TURBO 3.3L 1991-93
- Porsche 964 (911) TURBO 3.6L 1991-93

Passt:
Porsche 964 1989-94
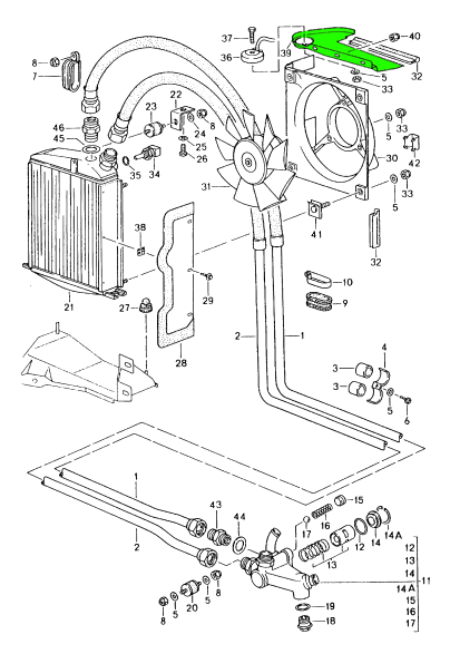
Klicken Sie auf das Bild für ein Diagramm mit großen Teilen.
Diagramm Nr. 30.
Zugehörige Referenznummern
Verwandte, ersetzte, Querverweisoder Alternativnummern zum Vergleich.
96462404100
Das von Ihnen angezeigte Produkt verweist auf diese Nummern
- Porsche 964 (911) C2 1989-93
- Porsche 964 (911) C4 1989-93
- Porsche 964 (911) TURBO 3.3L 1991-93
- Porsche 964 (911) TURBO 3.6L 1991-93
- Porsche 993 (911) C2 1994-97
- Porsche 993 (911) C4 1994-97
- Porsche 993 (911) TURBO 1994-96
- Porsche 993 (911) TURBO S 1994-97

Passt:
Porsche 964 C2 / C4 / Turbo 1989-94
Porsche 964 C2 / C4 / Turbo 1989-94
Klicken Sie auf „Vergrößern“, um ein großes Teilediagramm anzuzeigen.
Diagramm Nr. 31.
Zugehörige Referenznummern
Verwandte, ersetzte, Querverweisoder Alternativnummern zum Vergleich.
96462403503
Das von Ihnen angezeigte Produkt verweist auf diese Nummern
- Porsche 964 (911) C2 1989-93
- Porsche 964 (911) C4 1989-93
- Porsche 964 (911) TURBO 3.3L 1991-93
- Porsche 964 (911) TURBO 3.6L 1991-93
- Porsche 993 (911) C2 1994-97
- Porsche 993 (911) C4 1994-97
- Porsche 993 (911) TURBO 1994-96
- Porsche 993 (911) TURBO S 1994-97

Passform:
Porsche 964 C2 / C4 / Turbo 1989-94
Porsche 964 C2 / C4 / Turbo 1989-94
Klicken Sie auf „Vergrößern“, um das Diagramm großer Teile anzuzeigen.
Diagrammreferenznummer 31.
Zugehörige Referenznummern
Verwandte, ersetzte, Querverweisoder Alternativnummern zum Vergleich.
96462403503
Das von Ihnen angezeigte Produkt verweist auf diese Nummern
High-Quality Oil Cooler Fans & Housings for Efficient Engine Temperature Control
Oil cooler fans and housings play a vital role in maintaining stable oil temperatures, especially in performance engines or vehicles driven in hot climates. The oil cooler fan increases airflow across the cooler core, while the housing directs and contains the airflow for maximum cooling efficiency. Together, they help protect the engine’s lubrication system, reduce heat stress and prevent oil degradation during demanding driving conditions.
Whether you’re restoring a classic model, upgrading a performance build or replacing worn components, a reliable oil cooler fan and housing are essential for long-term engine protection.
What Oil Cooler Fans & Housings Do
These components work together to manage oil temperature by:
- Increasing
airflow over the oil cooler to disperse heat quickly
- Maintaining
consistent oil temperature under load
- Protecting
engine internals from overheating and lubrication breakdown
- Enhancing
overall cooling efficiency during heavy driving or hot weather
- Supporting track use, towing and high-performance applications
The fan housing (or shroud) ensures directed airflow, preventing turbulence and maximising cooling effectiveness.
Why Oil Cooler Fans & Housings Commonly Fail
Given the intense temperatures and airflow demands, oil
cooler fans and their housings can deteriorate over time.
Typical causes of
failure include:
- Heat
fatigue leading to cracked housings or weakened plastic
- Fan
motor wear from continuous high-speed operation
- Electrical
issues such as failing relays, damaged connectors or burnt wiring
- Debris
impact damage from stones or road contaminants
- Corrosion
or brittleness caused by heat cycles and oil exposure
- Vibration stress causing mounting points to loosen or break
When these components fail, airflow efficiency drops, allowing oil temperatures to rise and placing unnecessary strain on the engine.
Why You Should Replace Worn Oil Cooler Fans & Housings
A compromised oil cooler fan or housing reduces cooling
performance, increasing the risk of overheating, oil breakdown and engine wear.
Replacing these components with high-quality, precision-engineered
alternatives designed to meet original performance standards ensures:
- Restored airflow and optimal cooling
- Stable oil temperatures under demanding driving conditions
- Improved oil longevity and engine durability
- Reduced risk of overheating or lubrication failure
- Quieter, more reliable fan operation
Upgrading or replacing these parts is a cost-effective way to protect high-value engine components.