Geben Sie hier Ihre MwSt.-Nummer ein und klicken Sie auf Überprüfen:
Sie brauchen den Ländercode Ihrer MwSt.-Nummer nicht einzugeben, da dieser bereits oben in Ihrer Rechnungsadresse ausgewählt wurde.
Ihre Angaben wurden überprüft. MwSt.-Nummer registriert auf:
,
.
Ihre Bestellung ist nun mehrwertsteuerfrei. Wir behalten uns das Recht vor, diese Angaben nach Ihrer Bestellung zu überprüfen und gegebenenfalls die Mehrwertsteuer wieder einzuführen.
Ihre MwSt.-Angaben wurden nicht erkannt oder waren ungültig. Ihre MwSt.-Nummer muss mit Ihrem Rechnungsland übereinstimmen, wie oben angegeben. Dies ist derzeit als angegeben. Sie brauchen den Ländercode Ihrer MwSt.-Nummer nicht einzugeben, da Sie diesen bereits in den Angaben zu Ihrer Rechnungsadresse oben ausgewählt haben.
Der Dienst zur Überprüfung von MwSt.-Nummern ist derzeit offline. Bitte geben Sie Ihre MwSt.-Daten im Feld „Kommentare“ oder „Besondere Hinweise“ unten an, und wir werden nach Ihrer Bestellung einen MwSt.-Rabatt gewähren.
Ölkühler/Wärmetauscher
- Porsche 964 (911) C2 1989-93
- Porsche 964 (911) C4 1989-93
- Porsche 964 (911) RS 3.6L 1991-93
- Porsche 964 (911) RS 3.8L 1991-93
- Porsche 964 (911) TURBO 3.3L 1991-93
- Porsche 964 (911) TURBO 3.6L 1991-93
- Porsche 993 (911) C2 1994-97
- Porsche 993 (911) C4 1994-97
- Porsche 993 (911) RS 1994-97
- Porsche 993 (911) C2S 1994-97
- Porsche 993 (911) C4S 1994-97
- Porsche 993 (911) TURBO 1994-96
- Porsche 993 (911) GT2 1994-97
- Porsche 993 (911) TURBO S 1994-97
Passform:
Porsche 964 1989-94
Porsche 993 1994-97
OEM-Teilenummern:
964 207 220 02,
964 207 220 03,
964 207 220 04
Merkmale:
• OEM+ / High-Performance-Nachbildung des originalen Längerer & Reich-Ölkühlers
• Modernes Dual Pass 50mm Hochleistungsrohr und Lamellenkern
• Edelstahl-„Weithals“-Hochdurchflussarmaturen M30 x 1,5. Verbessertes Design der Montagestellen der Lüfterhaube für eine einfachere Installation
• 100 % WIG-geschweißte Aluminiumkonstruktion
• Satinschwarzes Finish
• Echte Plug-and-Play-Installation „Drop-in Fit“ erfordert absolut keine Änderungen
• Individuell auf Lecks und Druck bei 8 bar (116 psi) geprüft
• CSF-Logoprägung und individuelle Seriennummer zur Qualitätskontrolle und Authentizität
• Produktspezifische Schaumstoffeinlagen und eine hochwertige 5-lagige Box gewährleisten einen beschädigungsfreien Versand weltweit
• Enthält ein Garantieblatt mit Drehmomentangaben
• 10 Jahre eingeschränkte Garantie
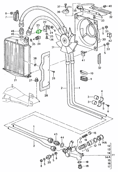
Diagramm Ref Nr. 21
Zugehörige Referenznummern
Verwandte, ersetzte, Querverweisoder Alternativnummern zum Vergleich.
8334
Das von Ihnen angezeigte Produkt verweist auf diese Nummern
- Porsche 964 (911) C2 1989-93
- Porsche 964 (911) C4 1989-93
- Porsche 964 (911) RS 3.6L 1991-93
- Porsche 964 (911) RS 3.8L 1991-93
- Porsche 964 (911) TURBO 3.3L 1991-93
- Porsche 964 (911) TURBO 3.6L 1991-93
- Porsche 993 (911) C2 1994-97
- Porsche 993 (911) C4 1994-97
- Porsche 993 (911) RS 1994-97
- Porsche 993 (911) C2S 1994-97
- Porsche 993 (911) C4S 1994-97
- Porsche 993 (911) TURBO 1994-96
- Porsche 993 (911) GT2 1994-97
- Porsche 993 (911) TURBO S 1994-97

Passt:
Porsche 964 1989-94
Porsche 993 1994-97
* Bitte überprüfen Sie vor der Bestellung die Teilenummer Ihres Relais in Ihrem Auto und passen Sie sie an.
Zugehörige Referenznummern
Verwandte, ersetzte, Querverweisoder Alternativnummern zum Vergleich.
PCG95125400
Das von Ihnen angezeigte Produkt verweist auf diese Nummern
- Porsche 964 (911) C2 1989-93
- Porsche 964 (911) C4 1989-93
- Porsche 964 (911) RS 3.6L 1991-93
- Porsche 964 (911) RS 3.8L 1991-93
- Porsche 964 (911) TURBO 3.3L 1991-93
- Porsche 964 (911) TURBO 3.6L 1991-93
- Porsche 993 (911) C2 1994-97
- Porsche 993 (911) C4 1994-97
- Porsche 993 (911) RS 1994-97
- Porsche 993 (911) C2S 1994-97
- Porsche 993 (911) C4S 1994-97
- Porsche 993 (911) TURBO 1994-96
- Porsche 993 (911) GT2 1994-97
- Porsche 993 (911) TURBO S 1994-97
Passform:
Porsche 964 1989-94
Porsche 993 1994-97
* Bitte überprüfen Sie vor der Bestellung die Teilenummer Ihres Relais in Ihrem Auto und gleichen Sie sie ab.
Zugehörige Referenznummern
Verwandte, ersetzte, Querverweisoder Alternativnummern zum Vergleich.
PCG95125400
Das von Ihnen angezeigte Produkt verweist auf diese Nummern
- Porsche 993 (911) TURBO 1994-96
- Porsche 993 (911) TURBO S 1994-97
Passform:
Porsche 993 Turbo - 1994 bis 1997
Porsche 993 turbo S - 1994 bis 1997
Ölschlauch für den serienmäßigen Zusatzölkühler im 993 turbo S
Dieser Ölschlauch ist im Nachrüstsatz zur Motorleistungssteigerung 00004410001, 00004410002, 00004410003 und 00004410004 enthalten
Zugehörige Referenznummern
Verwandte, ersetzte, Querverweisoder Alternativnummern zum Vergleich.
99320734381
Das von Ihnen angezeigte Produkt verweist auf diese Nummern
- Porsche 993 (911) C2 1994-97
- Porsche 993 (911) C4 1994-97
- Porsche 993 (911) RS 1994-97
- Porsche 993 (911) C2S 1994-97
- Porsche 993 (911) C4S 1994-97
- Porsche 993 (911) TURBO 1994-96
- Porsche 993 (911) GT2 1994-97
- Porsche 993 (911) TURBO S 1994-97

Passform:
Porsche 993 1995-98
Klicken Sie auf „Vergrößern“, um das Diagramm großer Teile anzuzeigen.
Diagramm Ref Nr. 18
Zugehörige Referenznummern
Verwandte, ersetzte, Querverweisoder Alternativnummern zum Vergleich.
99320741500
Das von Ihnen angezeigte Produkt verweist auf diese Nummern
- Porsche 964 (911) C2 1989-93
- Porsche 964 (911) C4 1989-93
- Porsche 964 (911) RS 3.6L 1991-93
- Porsche 964 (911) RS 3.8L 1991-93
- Porsche 964 (911) TURBO 3.3L 1991-93
- Porsche 964 (911) TURBO 3.6L 1991-93
- Porsche 993 (911) C2 1994-97
- Porsche 993 (911) C4 1994-97
- Porsche 993 (911) RS 1994-97
- Porsche 993 (911) C2S 1994-97
- Porsche 993 (911) C4S 1994-97
- Porsche 993 (911) TURBO 1994-96
- Porsche 993 (911) GT2 1994-97
- Porsche 993 (911) TURBO S 1994-97

Passt:
Porsche 964 1989-94
Porsche 993 1994-98
Klicken Sie auf „Vergrößern“, um ein großes Teilediagramm anzuzeigen.
Diagramm Nr. 46.
Zugehörige Referenznummern
Verwandte, ersetzte, Querverweisoder Alternativnummern zum Vergleich.
99913604509
Das von Ihnen angezeigte Produkt verweist auf diese Nummern
- Porsche 964 (911) C2 1989-93
- Porsche 964 (911) C4 1989-93
- Porsche 964 (911) RS 3.6L 1991-93
- Porsche 964 (911) RS 3.8L 1991-93
- Porsche 964 (911) TURBO 3.3L 1991-93
- Porsche 964 (911) TURBO 3.6L 1991-93
- Porsche 993 (911) C2 1994-97
- Porsche 993 (911) C4 1994-97
- Porsche 993 (911) RS 1994-97
- Porsche 993 (911) C2S 1994-97
- Porsche 993 (911) C4S 1994-97
- Porsche 993 (911) TURBO 1994-96
- Porsche 993 (911) GT2 1994-97
- Porsche 993 (911) TURBO S 1994-97

Passt:
Porsche 964 1989-94
Porsche 993 1994-98
Klicken Sie auf „Vergrößern“, um ein großes Teilediagramm anzuzeigen.
Diagramm Nr. 23.
Zugehörige Referenznummern
Verwandte, ersetzte, Querverweisoder Alternativnummern zum Vergleich.
99970332300
Das von Ihnen angezeigte Produkt verweist auf diese Nummern
- Porsche 964 (911) C2 1989-93
- Porsche 964 (911) C4 1989-93
- Porsche 964 (911) RS 3.6L 1991-93
- Porsche 964 (911) RS 3.8L 1991-93
- Porsche 964 (911) TURBO 3.3L 1991-93
- Porsche 964 (911) TURBO 3.6L 1991-93
- Porsche 993 (911) C2 1994-97
- Porsche 993 (911) C4 1994-97
- Porsche 993 (911) RS 1994-97
- Porsche 993 (911) C2S 1994-97
- Porsche 993 (911) C4S 1994-97
- Porsche 993 (911) TURBO 1994-96
- Porsche 993 (911) GT2 1994-97
- Porsche 993 (911) TURBO S 1994-97

Passt:
Porsche 964 1989-94
Porsche 993 1994-98
Klicken Sie auf „Vergrößern“, um ein großes Teilediagramm anzuzeigen.
Diagramm Nr. 23.
Zugehörige Referenznummern
Verwandte, ersetzte, Querverweisoder Alternativnummern zum Vergleich.
99970332300
Das von Ihnen angezeigte Produkt verweist auf diese Nummern
- Porsche 964 (911) C2 1989-93
- Porsche 964 (911) C4 1989-93
- Porsche 964 (911) RS 3.6L 1991-93
- Porsche 964 (911) RS 3.8L 1991-93
- Porsche 964 (911) TURBO 3.3L 1991-93
- Porsche 964 (911) TURBO 3.6L 1991-93
- Porsche 993 (911) C2 1994-97
- Porsche 993 (911) C4 1994-97
- Porsche 993 (911) RS 1994-97
- Porsche 993 (911) C2S 1994-97
- Porsche 993 (911) C4S 1994-97
- Porsche 993 (911) TURBO 1994-96
- Porsche 993 (911) GT2 1994-97
- Porsche 993 (911) TURBO S 1994-97
Passform:
Porsche 964 1989-94
Porsche 993 1994-97
Diagramm Ref Nr. 21
Zugehörige Referenznummern
Verwandte, ersetzte, Querverweisoder Alternativnummern zum Vergleich.
96420722004
Das von Ihnen angezeigte Produkt verweist auf diese Nummern
- Porsche 964 (911) C2 1989-93
- Porsche 964 (911) C4 1989-93
- Porsche 964 (911) RS 3.6L 1991-93
- Porsche 964 (911) RS 3.8L 1991-93
- Porsche 964 (911) TURBO 3.3L 1991-93
- Porsche 964 (911) TURBO 3.6L 1991-93
- Porsche 993 (911) C2 1994-97
- Porsche 993 (911) C4 1994-97
- Porsche 993 (911) RS 1994-97
- Porsche 993 (911) C2S 1994-97
- Porsche 993 (911) C4S 1994-97
- Porsche 993 (911) TURBO 1994-96
- Porsche 993 (911) GT2 1994-97
- Porsche 993 (911) TURBO S 1994-97
Passform:
Porsche 964 1989-94
Porsche 993 1994-97
Diagramm Ref Nr. 21
Zugehörige Referenznummern
Verwandte, ersetzte, Querverweisoder Alternativnummern zum Vergleich.
96420722004
Das von Ihnen angezeigte Produkt verweist auf diese Nummern
Ölkühler & Wärmetauscher – Optimale Temperaturregelung für die Porsche-Leistung
Ölkühler und Wärmetauscher sind wichtige Komponenten im Motor- und Getriebekühlsystem Ihres Porsche. Sie regulieren die Öltemperatur, indem sie Wärme von der Schmier- oder Hydraulikflüssigkeit ableiten. So sorgen sie für konstante Leistung, effiziente Schmierung und langfristigen Motorschutz – auch unter extremen Fahrbedingungen.
Bei Design911 bieten wir ein komplettes Sortiment an Ölkühlern und Wärmetauschern in Original- und Herstellerqualität für Porsche-Modelle wie 911, Boxster, Cayman, Cayenne, Macan und Panamera. Jedes Gerät ist auf präzise Passform, effiziente Wärmeübertragung und dauerhafte Zuverlässigkeit ausgelegt – und gewährleistet so die hohen Leistungsstandards, für die Porsche-Fahrzeuge bekannt sind.
Was machen Ölradiatoren und Wärmetauscher?
Ölradiatoren und Wärmetauscher spielen eine wichtige Rolle bei der Temperaturregulierung und dem Systemschutz. Sie:
- Leiten Sie die Wärme vom Motor- oder Getriebeöl ab, um eine Überhitzung zu verhindern.
- Sorgen Sie für eine stabile Öltemperatur für optimale Viskosität und Schmierung.
- Verlängern Sie die Lebensdauer der Komponenten , indem Sie thermische Schäden verhindern.
- Unterstützen Sie die Effizienz von Motor und Getriebe unter hoher Last oder bei hohen Geschwindigkeiten.
Durch die Kontrolle der Öltemperaturen sorgen diese Teile für eine gleichmäßige Leistungsabgabe, geringeren Verschleiß und höhere Zuverlässigkeit – ob auf der Straße oder der Rennstrecke.
Warum fallen Ölradiatoren und Wärmetauscher aus?
Obwohl diese Komponenten für extreme Bedingungen ausgelegt sind, können sie mit der Zeit aufgrund von Verschleiß, Korrosion oder Verunreinigungen ausfallen. Häufige Ursachen sind:
- Korrosion oder interne Verstopfung durch Schmutz oder zersetzte Flüssigkeiten.
- Physische Schäden durch Straßenschmutz oder Aufprall.
- Öl- oder Kühlmittellecks aufgrund von Rissen im Gehäuse oder an der Dichtung.
- Reduzierte Wärmeübertragungseffizienz durch verstopfte Lamellen oder interne Ablagerungen.
- Altersbedingte Verschlechterung der inneren Passagen oder Dichtungen.
Zu den Symptomen eines Ausfalls zählen Öllecks, steigende Motortemperaturen, reduzierter Öldruck oder Verunreinigungen zwischen Öl- und Kühlmittelsystem.
Warum einen defekten Ölkühler oder Wärmetauscher austauschen?
Ein beschädigter oder ineffizienter Ölkühler kann zu Überhitzung, Schmierverlust und schweren Motor- oder Getriebeschäden führen. Der Austausch defekter Einheiten stellt die Kühlleistung wieder her und stellt sicher, dass Ihr Porsche weiterhin Spitzenleistung und Zuverlässigkeit liefert.
Zu den Vorteilen des Austauschs gehören:
- Wiederhergestellte Öltemperaturregelung und Druckstabilität.
- Vermeidung von Überhitzung und Ölverschmutzung.
- Verbesserte Lebensdauer von Motor und Getriebe.
- Konstruktion und Ausstattung in Herstellerqualität für ein beruhigendes Gefühl.
Jeder Heizkörper und Wärmetauscher dieser Reihe ist so konzipiert, dass er die Werksstandards erfüllt oder übertrifft. Durch den Einsatz moderner Materialien und präziser Fertigung wird eine überragende Haltbarkeit, Korrosionsbeständigkeit und Kühlleistung erreicht.