Please wait… 
Please wait while we process your order,
do not press the back button… 
Sub5Club Store https://www.pitp.club https://www.pitp.club https://www.pitp.club

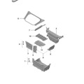
Bumper - FRONT - (PR:A8F, A8C) 992.1 Carrera 2019 - 2024 - PORSCHE

Click the image numbers to view product info

Diagram 802-000 Porsche 992 (911) MK1 2019-2024 Body SKU: 992898010B, bumper trimprimed,SKU: 992898010J, bumper trimprimed SKU: 992807499G2X, cover for towing eyeprimed SKU: 992807100OK1, spoilermatt black,SKU: 992807100AOK1, spoilermatt black,SKU: 992807100BOK1, spoilermatt black SKU: 992807579OK1, trim for air inletmatt black,SKU: 992807579AOK1, trim for air inletmatt black SKU: 992807347, bracketultrasound sensor,SKU: 992807348, bracketultrasound sensor SKU: 5Q0919275CG2X, sensorparking aidprimed SKU: 5Q0919275BG2X, sensorprimed SKU: 5Q09191339B9, seal ringparking aidsensors satin black SKU: 5Q09191339B9, seal ringparking aidsensors satin black SKU: 5Q09191339B9, seal ringparking aidsensors satin black SKU: 9A700751700, panel screw SKU: 9A700751700, panel screw SKU: N91242501, clamping nutspeed nut SKU: N91242501, clamping nutspeed nut 802-000