- Porsche 95B.1 Macan Petrol 2.0L 237Bhp 2014-18
- Porsche 95B.2 Macan Petrol 2.0L 245Bhp 2019-21
- Porsche 95B.3 Macan Petrol 2.0L 265Bhp 2022>>
- Porsche 95B.3 Macan T Petrol 2.0L 265Bhp 2022>>
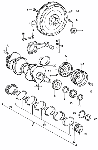
Set di 8 cuscinetti

Adatto a:
Porsche 95B Macan 2.0ltr - dal 2018 in poi
Se montati come set, questi sostituiscono i cuscinetti colorati: blu / rosso / giallo
Fare clic su "Ingrandisci" per visualizzare lo schema delle parti più grandi.
Diagramma rif. n. 13 e 14
Numeri di riferimento correlati
Numeri correlati, sostituiti, riferimenti incrociati o alternativi per il confronto.
95810570101
Il prodotto che stai visualizzando fa riferimento a questi numeri
Acquista in sicurezza
12 mesi di garanzia
Consegna in tutto il mondo

