non premere il tasto di ritorno…
-
Parti del motore
-
- Raffreddamento del motore Tubi e tubazioni del liquido di raffreddamento (auto con motore posteriore) Radiatori per acqua / refrigerante Radiatori del refrigerante per pista e gara Pompe dell'acqua / del refrigerante Contenitori / serbatoi di espansione per refrigerante Termostato / sensore di temperatura Radiatori dell'olio / scambiatori di calore Sistema e tubi dell'olio Olio motore Refrigerante/antigelo
-
- Parti di ricostruzione del motore Albero intermedio (IMS) Componenti del sistema dell'olio Parti del sistema di alimentazione del carburante Guarnizioni e set Guarnizione radiale/RMS/albero a camme/albero di bilanciamento Cinghie/tenditori/rulli Catene e tenditori Cuscinetti/calotte del motore Valvole/guide/molle del motore Bilancieri Viti prigioniere del motore Supporti del motore Fasce elastiche dei pistoni Cilindri/camicie/pistoni del motore Biella Testata Albero a camme e parti Ingranaggi/ruote dentate e fissaggi dell'albero a camme Parti del carter Albero a gomiti e parti Presa d'aria e iniezione Pompa a vuoto tutte le categorie
-
-
Freni
-
- Freni Pastiglie dei freni e pacchetto dischi Pastiglie dei freni e pacchetto dischi SPORT Disco del freno standard Pastiglie dei freni standard Disco del freno SPORT Freni standard Brembo Freni Brembo Racing Freni TEXTAR Freni da gara PAGID Freni Zimmermann Freni ad attrito ad alte prestazioni Disco per freno scanalato Giro Freni ad alte prestazioni SHW Freni EBC Freni in ceramica Surface Transforms Linea grafite Rotinger Ricambio per disco in ceramica Sensori di usura delle pastiglie dei freni Spessori anti-vibrazioni per pastiglie dei freni Bulloni della pinza / viti del disco Kit perni e piastre guida Tubi flessibili per freni ad alte prestazioni tutte le categorie
-
-
Sospensioni e sterzo
-
- Sospensione e assale Barra antirollio Boccole della barra antirollio Staffa della barra antirollio Stabilizzatori e boccole ANTERIORI Stabilizzatori e boccole POSTERIORI Ammortizzatori ANTERIORI Parti degli ammortizzatori ANTERIORI Ammortizzatori POSTERIORI Parti degli ammortizzatori POSTERIORI Molle elicoidali ANTERIORI Molle elicoidali POSTERIORI tutte le categorie
-
Trasmissione
-
- Cambio / trasmissione Kit frizione Kit frizione - alte prestazioni Piastra di attrito frizione Cuscinetti di rilascio della frizione Tubo di guida della frizione Forcelle e leve della frizione Bulloni della frizione Parti del cambio Alberi di trasmissione e parti Serie di guarnizioni del cambio Supporti del cambio Parti di controllo del cambio Volano/coppia Kit giunti omocinetici Cuffie e kit giunto omocinetico Albero cardanico / albero di trasmissione Olio del cambio Coppa del cambio / coppa dell'olio Trasmissioni / cambi usati Differenziale anteriore Differenziale Raffreddatori dell'olio tutte le categorie
-
-
Raffreddamento e riscaldamento
-
- Riscaldamento/climatizzazione Condensatori ed essiccatori per climatizzazione Evaporatori dell'aria condizionata e valvole di espansione Tubi per climatizzazione Cinghie per climatizzazione Ventole e cappottature Relè/sensori/resistori Compressori Motori e ventole per soffianti Soffianti del riscaldatore Tubi flessibili e tubi del riscaldatore Scambiatore di calore Bocchette di ventilazione / griglie Controllo della climatizzazione Sensori/interruttori di temperatura Alloggiamenti riscaldamento/climatizzazione
-
-
Elettrico e illuminazione
-
- Componenti elettrici e relè Pompe del carburante Interruttore freno e frizione Interruttore di segnalazione pericolo Interruttore del freno a mano Interruttore della luce di retromarcia Interruttore dei fari Interruttore del finestrino Motori del finestrino Meccanismo del finestrino Motore del tergicristallo Clacson elettrico Unità di controllo SmartTop Interruttore di accensione Interruttore del sedile Interruttore freccia / leva tergicristallo Interruttore tetto / tettuccio apribile Relè / fusibili Pompe/contenitori/getti per lavavetri Allarmi/sicurezza/chiusura centralizzata Centraline elettroniche Parti e interruttori del cruscotto / della console Interruttore specchietto retrovisore esterno tutte le categorie
-
- Illuminazione Fari per guida a destra Fari per guida a sinistra Parti e lenti dei fari Kit luci HID Indicatori di direzione anteriori Indicatori di direzione posteriori per guida a destra Indicatori di direzione posteriori per guida a sinistra Fari fendinebbia / di guida Ripetitori laterali 3a luce di frenata Luci della targa tutte le categorie
-
-
Corpo e scarico
-
- Telaio / Carrozzeria Restauro telaio / Riparazione pannelli Ammortizzatore del coperchio del cofano motore Ammortizzatore del portello del bagagliaio Cofani / serrature e chiavistelli Bagagliaio / portello posteriore / serrature e chiavistelli Portello posteriore / portellone Paraurti anteriori Paraurti posteriori Porte / serrature e chiavistelli Pannelli per porte | Cerniere | Piastre percussori Alzacristalli Parafanghi anteriori e parti Parafanghi posteriori e parti Pannelli sottoporta laterali Modanature esterne del telaio Specchietti e parti Pellicole/adesivi parasassi Sottoscocche telaio e motore Spazzole/bracci dei tergicristalli Bracci e spazzole tergicristallo posteriori Rivestimenti e coperture dei passaruota Tetto - Cabrio / Targa / Coupé tutte le categorie
-
- Scarichi Silenziatori / Marmitte Sportivi Silenziatori/silenziatori commutabili Scarico per conversione carrozzeria Silenziatori/marmitte Catalizzatore/bypass Collettore/collettori Terminali di scarico Scambiatori di calore Pacchetto di scarico Guarnizioni di scarico Dadi/bulloni/prigionieri di scarico tutte le categorie
-
-
Lubrificanti e fluidi
-
- Parti di ricambio Kit parti di ricambio originali Filtri dell'olio Filtri dell'aria Filtri antipolline/antiparticolato Cinghie di tutti i tipi Candele Candele IRIDIUM POWER Candele IRIDIUM RACING Bobine di accensione Spazzole/bracci dei tergicristalli Bracci e spazzole tergicristallo posteriori Parti di ricambio della scatola del cambio Olio motore e lubrificanti - Mobil Olio motore e lubrificanti - Total Olio motore e lubrificanti - Castrol Olio Motore e Lubrificanti - Motul Olio motore e lubrificanti - Millers Oils NanoDrive Olio motore e lubrificanti - Millers Oils Additivi per carburanti Refrigerante/antigelo Olio per servosterzo DPI per autofficina
-
-
Tutte le parti
-
- Parti Accessori Telaio / Carrozzeria Freni Abbigliamento e regali Componenti elettrici e relè Raffreddamento del motore Componenti elettrici del motore Parti di ricostruzione del motore Parti per alte prestazioni Scarichi Linea esterni / spoiler Cambio / trasmissione Riscaldamento/climatizzazione Componenti idraulici Interni e accessori Incar / multimedia Illuminazione Tappetini e tappeti Motorsport e fuoristrada Pedaliera Guarnizioni di gomma Sedili e cinture di sicurezza tutte le categorie
-
- Back to main website
Inserisci il tuo numero di partiva IVA qui e fai clic su Verifica:
Nessuna necessità di inserire la parte del numero di partita IVA relativa al codice del paese poiché questa è già stato selezionata nel predetto indirizzo di fatturazione.
I tuoi dati sono stati verificati. Numero di partita IVA registrato a:
,
.
Al tuo ordine sarà applicata un’aliquota pari a zero ai fini dell’IVA. Ci riserviamo il diritto di verificare questi dettagli dopo che la tua richiesta d’ordine è stata fatta e di reintegrare l’IVA se necessario.
I tuoi dati IVA non sono stati riconosciuti o non erano validi. Il tuo numero di partita IVA deve corrispondere al tuo paese di fatturazione come specificato sopra. Attualmente è specificato come . Non occorre inserire inserire la parte del numero di partita IVA relativa al codice del paese poiché questa è già stato selezionata nei dettagli del predetto indirizzo di fatturazione.
Il servizio di verifica della partita IVA è attualmente offline. Per favore fornisci i tuoi dati IVA all’interno dei commenti o nel campo delle istruzioni speciali sotto e noi applicheremo uno sconto IVA dopo aver fatto la richiesta d’ordine.
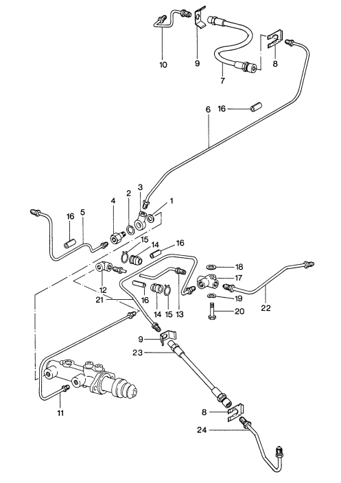
Tubo freno a pinza, ANTERIORE. Porsche 964/993 ❭ 99335513902
- Porsche 964 (911) C2 1989-93
- Porsche 964 (911) C4 1989-93
- Porsche 993 (911) C2 1994-97
- Porsche 993 (911) C4 1994-97
- Porsche 993 (911) RS 1994-97
- Porsche 993 (911) TURBO 1994-96


- Porsche 964 (911) C2 1989-93
- Porsche 964 (911) C4 1989-93
- Porsche 993 (911) C2 1994-97
- Porsche 993 (911) C4 1994-97
- Porsche 993 (911) RS 1994-97
- Porsche 993 (911) TURBO 1994-96
Perché dovrebbero essere sostituiti:
I tubi flessibili in gomma per freni invecchiano con il calore, lo sporco della strada e l'esposizione al liquido freni: possono marcire, creparsi, gonfiarsi o perdere, creando un rischio immediato per la sicurezza. Anche in assenza di perdite visibili, il deterioramento o il cedimento parziale del rivestimento interno può causare un pedale morbido/spugnoso e una frenata irregolare. La sostituzione dei vecchi tubi con tubi originali di misura corretta ripristina la sensibilità del pedale e previene perdite di liquido catastrofiche.
Problemi comuni e modalità di errore:
- Crepe esterne/marciume secco dovuto a raggi UV, calore ed età, visibili all'ispezione.
- Perdite di fluido dal corpo del tubo o dai raccordi terminali dovute a gomma deteriorata o filettature corrose.
- Collasso del rivestimento interno (non visibile): provoca un flusso limitato, un aumento ritardato della pressione e un pedale del freno morbido.
- Danni/sfregamenti dovuti al montaggio, nel punto in cui il tubo flessibile sfrega contro le parti delle sospensioni, possono usurare la copertura esterna e causare guasti improvvisi. Il supporto/passacavo in stile OEM aiuta a prevenire questo problema.
Fare clic su "Ingrandisci" per il diagramma delle parti di grandi dimensioni
Riferimento diagramma n. 1
Numeri di riferimento correlati
Numeri correlati, sostituiti, riferimenti incrociati o alternativi per il confronto.
99335513902
Il prodotto che stai visualizzando fa riferimento a questi numeri
- Porsche Boxster 986 2.5L 1997-99
- Porsche Boxster 986 2.7L 1999-02
- Porsche Boxster S 986 3.2L 1999-02
- Porsche Boxster 986 2.7L 2003-04
- Porsche Boxster S 986 3.2L 2003-04
- Porsche Boxster 987 2.7L 2005-08/08
- Porsche Boxster 987 S 3.2/3.4L 2005-08/08
- Porsche Boxster 987 MKII 2.9L 2009-12
- Porsche Boxster S 987 MKII 3.4L 2009-12
- Porsche 996 C2 3.4L 1997-08/01
- Porsche 996 C4 3.4L 1997-08/01
- Porsche 996 C2 3.6L 09/01-2005
- Porsche 996 C4 3.6L 09/01-2005
- Porsche 996 C4S 3.6L 09/01-2005
- Porsche 996 TURBO 2000-05
- Porsche 996 GT2 2001-05
- Porsche 996 GT3 MKI 1999-02
- Porsche 996 GT3 MKII 2003>>
- Porsche 996 GT3 RS 2003-04
- Porsche 997 MK1 Carrera 2 3.6L 2005-08
- Porsche 997 MK1 Carrera 2S 3.8L 2005-08
- Porsche 997 MK1 Carrera 4 3.6L 2005-08
- Porsche 997 MK1 Carrera 4S 3.8L 2005-08
- Porsche 997 MK1 TURBO 2007-09
- Porsche 997 MK1 GT2 2007-09
- Porsche 997 MKII Carrera C2 3.6L 2009-12
- Porsche 997 MKII Carrera C4 3.6L 2009-12
- Porsche 997 MKII Carrera C2S 3.8L 2009-12
- Porsche 997 MKII Carrera C4S 3.8L 2009-12
- Porsche 997 MKII Turbo 2010-13
- Porsche Cayman 2.7L 987C 2006-08
- Porsche Cayman S 3.4L 987C 2005-08
- Porsche Cayman 2.9L 987C MKII 2009-12
- Porsche Cayman S / R 3.4L 987C MKII 2009-12


Porsche 986 Boxster 1997-04
Porsche 996 Carrera 1998-05
Porsche 996 Turbo / GT2
Porsche 996 GT3
Porsche 997 Carrera MKI e MKII 2005>>
Porsche 997 Turbo / GT2 2007>>

Porsche 987 Boxster MKI e MKII 2005>>
Porsche 987C Cayman MKI e MKII 2006>>
Fare clic su "Ingrandisci" per il diagramma delle parti di grandi dimensioni
Riferimento diagramma n. 4
Numeri di riferimento correlati
Numeri correlati, sostituiti, riferimenti incrociati o alternativi per il confronto.
99635513904
Il prodotto che stai visualizzando fa riferimento a questi numeri

PUNTO 4
Avendo un punto di ebollizione estremamente elevato e una viscosità inferiore a quella richiesta, soddisfa e supera ampiamente gli standard normativi. Adatto anche per veicoli con ABS.
Formazione di Vapor Lock
Questa sorta di abitudine lascia spazio al Vapor Lock, la formazione di bolle di vapore dovute all'ebollizione del liquido freni che sostituiscono il normale liquido e vengono compresse mandando così il pedale del freno alla sua corsa di riempimento (pedale spugnoso). L'origine è imputabile alla porosità dei tubi che compongono il circuito frenante, che con il tempo attirano umidità nel fluido, riducendone drasticamente il punto di ebollizione. Il risultato è una ridotta efficienza di frenata.
Liquido freni Brembo Premium
I liquidi freno Brembo Premium hanno un punto di ebollizione più elevato, superiore allo standard, offrendo così una resistenza superiore al Vapor Lock e garantendo efficienza frenante anche a basse temperature. Dotato di elevate proprietà anticorrosive e di resistenza all'ossidazione, il liquido freni Brembo consente inoltre di mantenere inalterate nel tempo le caratteristiche chimico-fisiche del fluido nel circuito di esercizio; preservandone quindi l'integrità.
Numeri di riferimento correlati
Numeri correlati, sostituiti, riferimenti incrociati o alternativi per il confronto.
L040
Il prodotto che stai visualizzando fa riferimento a questi numeri
- Porsche Boxster 986 2.5L 1997-99
- Porsche Boxster 986 2.7L 1999-02
- Porsche Boxster S 986 3.2L 1999-02
- Porsche Boxster 986 2.7L 2003-04
- Porsche Boxster S 986 3.2L 2003-04
- Porsche 996 C2 3.4L 1997-08/01
- Porsche 996 C4 3.4L 1997-08/01
- Porsche 996 C2 3.6L 09/01-2005
- Porsche 996 C4 3.6L 09/01-2005
- Porsche 996 C4S 3.6L 09/01-2005
- Porsche 996 TURBO 2000-05
- Porsche 996 GT2 2001-05
- Porsche 996 GT3 MKI 1999-02
- Porsche 996 GT3 MKII 2003>>
- Porsche 996 GT3 RS 2003-04
- Porsche 997 MK1 Carrera 2 3.6L 2005-08
- Porsche 997 MK1 Carrera 2S 3.8L 2005-08
- Porsche 997 MK1 Carrera 4 3.6L 2005-08
- Porsche 997 MK1 Carrera 4S 3.8L 2005-08
- Porsche 997 MK1 TURBO 2007-09
- Porsche 997 MK1 GT2 2007-09
- Porsche 997 MKII Carrera C2 3.6L 2009-12
- Porsche 997 MKII Carrera C4 3.6L 2009-12
- Porsche 997 MKII Carrera C2S 3.8L 2009-12
- Porsche 997 MKII Carrera C4S 3.8L 2009-12
- Porsche 997 MKII Turbo 2010-13


Porsche 986 Boxster 1997-04
Porsche 996 Carrera 1998-05
Porsche 996Turbo/GT2
Porsche 996 GT3
Porsche 997 Carrera MKI e MKII 2005>>
Porsche 997 Turbo / GT2 2007>>
Fai clic su "Ingrandisci" per il diagramma delle parti di grandi dimensioni
Diagramma rif. 4
Numeri di riferimento correlati
Numeri correlati, sostituiti, riferimenti incrociati o alternativi per il confronto.
99635513904KIT
Il prodotto che stai visualizzando fa riferimento a questi numeri
Questo kit è composto dai seguenti elementi:
Dal lunedì al venerdì: dalle 8:30 alle 17:30 (GMT) Sabato: chiuso Domenica: chiuso Nota bene: saremo chiusi dal Venerdì Santo (18 aprile) a lunedì (21 aprile), riaprendo regolarmente martedì (22 aprile).