druk niet op de terugknop…
-
Motoronderdelen
-
- Motorkoeling Koelvloeistofslangen en -leidingen (auto's met motor achterin) Water-/koelvloeistofradiatoren Track- en raceradiatoren Water-/koelvloeistofpompen Koelmiddeltanks / expansievaten Thermostaat / temperatuursensor Olieradiatoren / warmtewisselaars Oliesysteem en -leidingen Olietank Motorolie Koelvloeistof / Antivries
-
- Onderdelen voor motorrevisie Onderdelen oliesysteem Onderdelen brandstofsysteem Pakkingen en sets Radiale afdichting / RMS / nokkenas / balansas Riemen / spanners / rollen Kettingen en spanners Motorlagers / schalen Motorkleppen / geleiders / veren Tuimelaars Motorsteunen Motorsteunen Motorcilinders / bussen / zuigers Verbindingsstang Cilinderkop Nokkenas en onderdelen Nokkenastandwielen/tandwielen en bevestigingen Carteronderdelen Krukas en onderdelen Turboladers / intercoolers en onderdelen Luchtinlaat en injectie Speciaalgereedschap
-
-
Remmen
-
- Remmen Remblokken en -schijven SPORT Remblokken & schijfpakket Remschijf standaard Remblokken standaard SPORT-remschijf Brembo standaardremmen Brembo Racing-remmen TEXTAR-remmen PAGID raceremmen Manthey Racing Remblokken Zimmermann-remmen Performance-wrijvingsremmen Giro gegroefde remschijf SHW Performance Remmen EBC-remmen Surface Transforms keramische remmen Rotinger grafietlijn Vervanging voor keramische schijf Slijtagesensoren remblokken Remblok Anti-vibratie vulplaatjes Remklauwbouten / schijfschroeven Pinkit en geleideplaten Alle categorieën
-
-
Ophanging en besturing
-
- Stuuronderdelen Stuurhuizen Stuurmanchet Spoorstangen
-
-
Overdragen
-
- Versnellingsbak / transmissie Koppelingssets Koppelingssets - hoge prestaties Koppelingsplaat Koppeling drukplaat Koppeling ontkoppelingslagers Koppelingskabels & onderdelen Koppelingsbouten Versnellingsbakonderdelen Aandrijfassen & onderdelen Versnellingsbakpakkingsets Versnellingsbaksteunen Versnellingspookbedieningsonderdelen Vliegwiel / koppel CV koppelingensets CV-manchetten en -kits Cardanas / schroefas Transmissieonderdelen Versnellingsbakolie Versnellingsbakcarter / oliecarter Differentieel Oliekoelers Tussenbak & onderdelen
-
- Koelen & Verwarmen
-
Elektriciteit & Verlichting
-
- Elektrisch en relais Alarmlichtenschakelaar Handremschakelaar Achteruitrijlichtschakelaar Raam schakelaar Raammechanisme Ruitenwissermotor Elektrische claxon Ontstekingsschakelaar Indicator / ruitenwisserschakelaar Relais / zekeringen Sproeierpompen / -tanks / -jets Alarmen / beveiliging / centrale vergrendeling Elektronische regeleenheden (ECU) Dashboard- / consoleonderdelen en schakelaars Deurspiegelschakelaar Telefoonkits / Bluetooth / Ipod Airbags en onderdelen Tracker Cruise control Connectorbehuizing Kabelboom
-
- Verlichting Koplampen rechtsgestuurd Koplampen linksgestuurd Koplamponderdelen en -lens HID-lichtsets Richtingsaanwijzers voorzijde Richtingaanwijzers achter rechtsgestuurd Richtingaanwijzers achter linksgestuurd Mist- en dagrijlampen Extra zijrichtingaanwijzers Derde remlichten Kentekenplaatverlichtingen Alle categorieën
-
-
Carrosserie & Uitlaat
-
- Chassis / carrosserie Restauratie chassis / reparatiepanelen Demperdeksel voor Demperdeksel achter Motorkappen / -sloten en -grendels Kofferbakken / achterkleppen / -sloten en -grendels Achterklep / Achterklep Voorbumpers Achterbumpers Deuren / sloten & vergrendelingen Deurpanelen | Scharnieren | Slagplaten Raamslingers Wing voor en onderdelen Wing achter & onderdelen Zijdorpelpanelen Exterieur chassissierlijsten Spiegels en onderdelen Steenslagfolies / -stickers Onderplaten chassis & motor Wisserbladen / =armen Wielkastbekledingen en -afdekkingen Dak - Cabrio / Targa / Coupé Rolkooien Alle categorieën
-
-
Smeermiddelen en vloeistoffen
-
- Serviceonderdelen Servicesets OEM-onderdelen Oliefilters Luchtfilters Pollen- / deeltjesfilters Riemen alle soorten Bougies Bobines Wisserbladen / -armen Achterruitenwisserarmen en -bladen Versnellingsbak serviceonderdelen Motorolie en smeermiddelen - Mobil Motorolie en smeermiddelen - Total Motorolie en smeermiddelen - Castrol Motorolie en smeermiddelen - Motul Motorolie en smeermiddelen - Millers Oils NanoDrive Motorolie en smeermiddelen - Millers Oils Brandstofadditieven Koelvloeistof / Antivries Garage PBM
-
-
Alle onderdelen
-
- Onderdelen Accessoires Chassis / carrosserie Remmen Kleding en geschenken Elektrisch en relais Motorkoeling Motorelektrisch Onderdelen voor motorrevisie Performance-onderdelen Uitlaten Exterieurstyling / spoilers Versnellingsbak / transmissie Verwarming / airconditioning Hydraulica Interieur en accessoires Incar / multimedia Verlichting Matten en tapijten Motorsport en Off-Road Pedaalcluster Rubberen afdichtingen Stoelen en veiligheidsgordels Alle categorieën
-
- Back to main website
Voer hier uw btw-nummer in en klik op Verifiëren:
U hoeft het landcode-deel van uw btw-nummer niet in te voeren, omdat dit al is geselecteerd in uw factuuradres hierboven.
Uw gegevens zijn geverifieerd. Btw-nummer geregistreerd bij:
,
.
Uw bestelling wordt nu voor BTW-doeleinden op een nultarief gezet. Wij behouden ons het recht voor deze gegevens na uw bestelaanvraag te controleren en indien nodig opnieuw btw aan te rekenen.
Uw btw-gegevens werden niet herkend of waren ongeldig. Uw btw-nummer moet overeenkomen met het land van facturering zoals hierboven aangegeven. Dit wordt momenteel gespecificeerd als . U hoeft het landcode-deel van uw btw-nummer niet in te voeren, omdat dit al is geselecteerd in uw factuuradres hierboven.
De dienst voor het controleren van btw-nummers is momenteel offline. Geef uw btw-gegevens op in het veld opmerkingen of speciale instructies hieronder en wij passen een btw-korting toe na het plaatsen van uw bestelaanvraag.
Sump plug. Porsche Cayenne / Macan / Panamera ❭ PAF911679
- Porsche 958 Cayenne V6 3.0L Diesel (245Hp) 2010-17
- Porsche 9YA Cayenne V6 3.0L Petrol (340Hp) 2018-23
- Porsche 9YA Cayenne S V6 2.9L Petrol (440Hp) 2018-23
- Porsche 9YA Cayenne Turbo V8 4.0L Petrol (550Hp) 2020-23
- Porsche 970.1 Panamera Diesel V6 3.0L 2011-13
- Porsche 970.2 Panamera Diesel V6 3.0L (250Hp) 2014-16
- Porsche 971.1 Panamera V6 3.0L 2WD (330 Hp) 2017-20
- Porsche 971.1 Panamera 4 V6 3.0L 4WD (330 Hp) 2017-20
- Porsche 971.1 Panamera 4 V6 3.0L 4WD Executive 2017-20
- Porsche 971.1 Panamera 4 3.0L Turbocharged V6 Sport Turismo 2017-20
- Porsche 971.1 Panamera 4S V6 3.0L 4WD (440 Hp) 2017-20
- Porsche 971.1 Panamera 4S V6 3.0L 4WD Executive 2017-20
- Porsche 971.1 Panamera 4S 2.9L Twin-Turbo V6 Sport Turismo 2017-20
- Porsche 971.1 Panamera Turbo V8 4.0L 4WD (550 Hp) 2017-20
- Porsche 971.1 Panamera Turbo V8 4.0L 4WD Executive 2017-20
- Porsche 95B.1 Macan S Diesel 3.0L V6 (258Bhp) 2014-18

Past bij:
Porsche 958 Cayenne 3.0L Diesel 2012-18
Porsche 9YA Cayenne 3.0L / S 2.9L 2018>>
Porsche 9YA Cayenne 4.0 V8 Turbo 2018>>
Porsche 970 Panamera 3.0L Diesel 2012-16
Porsche 971 Panamera 3.0L / S 2.9L 2017>>
Porsche 971 Panamera 4.0L V8 Diesel 2017>>
Porsche 971 Panamera 4.0L V8 Turbo 2017>>
Porsche 95B Macan V6 TDI 3.0L 2014-18
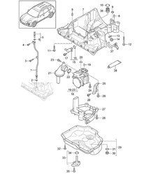
Klik op 'Inzoomen' voor een groot onderdelenschema.
Schema ref. nr. 30
Gerelateerde referentienummers
Gerelateerde, vervangen, kruisverwijzingen of alternatieve nummers ter vergelijking.
PAF911679
Het product dat u bekijkt, verwijst naar deze nummers
- Porsche Boxster 986 2.5L 1997-99
- Porsche Boxster 986 2.7L 1999-02
- Porsche Boxster S 986 3.2L 1999-02
- Porsche Boxster 986 2.7L 2003-04
- Porsche Boxster S 986 3.2L 2003-04
- Porsche Boxster 987 2.7L 2005-08/08
- Porsche Boxster 987 S 3.2/3.4L 2005-08/08
- Porsche Boxster 987 MKII 2.9L 2009-12
- Porsche Boxster S 987 MKII 3.4L 2009-12
- Porsche Boxster 981 2.7L 2012-16
- Porsche Boxster 981 S / GTS 3.4L 2012-16
- Porsche Boxster 718 2.0L Manual (300 Bhp) 2017>>
- Porsche Boxster 718 2.0L PDK (300 Bhp) 2017>>
- Porsche Boxster S 718 2.5L Manual (350 Bhp) 05/2017>>
- Porsche Boxster S 718 2.5L PDK (350 Bhp) 05/2017>>
- Porsche 996 C2 3.4L 1997-08/01
- Porsche 996 C4 3.4L 1997-08/01
- Porsche 996 C2 3.6L 09/01-2005
- Porsche 996 C4 3.6L 09/01-2005
- Porsche 996 C4S 3.6L 09/01-2005
- Porsche 996 GT2 2001-05
- Porsche 996 GT3 MKI 1999-02
- Porsche 996 GT3 MKII 2003>>
- Porsche 996 GT3 RS 2003-04
- Porsche 997 MK1 Carrera 2 3.6L 2005-08
- Porsche 997 MK1 Carrera 2S 3.8L 2005-08
- Porsche 997 MK1 Carrera 4 3.6L 2005-08
- Porsche 997 MK1 Carrera 4S 3.8L 2005-08
- Porsche 997 MK1 TURBO 2007-09
- Porsche 997 MK1 GT3 2007-09
- Porsche 997 MK1 GT2 2007-09
- Porsche 997 MKII Carrera C2 3.6L 2009-12
- Porsche 997 MKII Carrera C4 3.6L 2009-12
- Porsche 997 MKII Carrera C2S 3.8L 2009-12
- Porsche 997 MKII Carrera C4S 3.8L 2009-12
- Porsche 997 MKII GT3 2010-11
- Porsche 997 MKII Turbo 2010-13
- Porsche 997 MKII GT2 RS 2011-13
- Porsche 991.1 Carrera C2 3.4L (350 Bhp) 2012-16
- Porsche 991.1 Carrera C2S / GTS 3.8L (400/430 Bhp) 2012-16
- Porsche 991.1 Carrera C4 3.4L (350 Bhp) 2012-16
- Porsche 991.1 Carrera C4S / GTS 3.8L (400/430 Bhp) 2012-16
- Porsche 991.1 Turbo 3.8L (520 Bhp) 2014-16
- Porsche 991.1 Turbo S 3.8L (560 Bhp) 2014-16
- Porsche 991.2 Turbo Coupe 3.8L (540 Bhp) 2016-19
- Porsche 991.2 Turbo S Coupe 3.8L (580 Bhp) 2016-19
- Porsche 991.2 Turbo Cabriolet 3.8L (540 Bhp) 2016-19
- Porsche 991.2 Turbo S Cabriolet 3.8L (580 Bhp) 2016-19
- Porsche Cayman 2.7L 987C 2006-08
- Porsche Cayman S 3.4L 987C 2005-08
- Porsche Cayman 2.9L 987C MKII 2009-12
- Porsche Cayman S / R 3.4L 987C MKII 2009-12
- Porsche Cayman 2.7L 981 2013-16
- Porsche Cayman S / GTS 3.4L 981 2013-16
- Porsche Cayman GT4 3.8L 2015-16
- Porsche Cayman 718 2.0L Manual (300 Bhp)
- Porsche Cayman 718 2.0L PDK (300 Bhp)
- Porsche Cayman S 718 2.5L Manual (350 Bhp)
- Porsche Cayman S 718 2.5L PDK (350 Bhp)
Dit kleine maar cruciale onderdeel zorgt voor een veilige, lekvrije afdichting tussen de olieaftapplug en het carter van de motor, waardoor olielekkage wordt voorkomen. Het is qua formaat en fabricage afgestemd op de originele Porsche-specificaties voor een betrouwbare pasvorm en optimale afdichting.
Verkocht per stuk
Geschikt voor:
Porsche 986 Boxster
Porsche 987 Boxster
Porsche 981 Boxster
Porsche 982 (718) Boxster
Porsche 987C Cayman
Porsche 981C Cayman
Porsche 982 (718) Cayman
Porsche 996
Porsche 997
Porsche 991
Diagramreferentienummer 24
Deze hoogwaardige OE Match-afdichtingsring (ook wel drukring of pakking genoemd) is ontworpen met de juiste binnen-/buitendiameters en materiaaldikte zoals die door Porsche op diverse modelplatformen worden gebruikt.
De afdichtring is ideaal voor gebruik bij elke olieverversing waarbij de aftapplug is verwijderd en opnieuw is geplaatst, en wanneer de originele ring tekenen van compressievervorming, vervorming, corrosie of beschadiging vertoont. Deze OE Match-versie biedt een directe pasvorm en consistente afdichtingsprestaties die vergelijkbaar zijn met het door de fabrikant voorgeschreven onderdeel.
De afdichtring van de olieaftapplug bevindt zich tussen de kop van de aftapplug en het oppervlak van het motoroliecarter. Wanneer de aftapplug volgens de specificaties wordt vastgedraaid, wordt de afdichtring licht samengedrukt en vormt een vloeistofdichte barrière. Dit voorkomt dat motorolie onder druk of door trillingen uit het carter ontsnapt. Een goede afdichting zorgt voor een correct oliepeil en voorkomt lekkages onderweg of in de garage.
Functie: De afdichtring wordt elke keer dat de aftapplug van de motorolie wordt verwijderd, gemonteerd. Tijdens de montage wordt de ring als het ware in de aftapopening geperst, waardoor een gelijkmatige afdichting ontstaat. Deze functie is cruciaal, omdat zelfs kleine olielekken kunnen leiden tot een lager oliepeil, mogelijke motorschade en vervuiling van onderdelen van de ophanging of het uitlaatsysteem. De OE Match-ring reproduceert de afdichtingseigenschappen van het origineel, zodat het koppel- en compressiegedrag binnen de door de fabrikant vastgestelde toleranties blijft.
De afdichtingsringen van de olieaftapplug zijn wegwerpafdichtingsonderdelen die vervormen bij elke montage van de plug. Het hergebruiken van een oude of samengedrukte ring kan leiden tot oliedruppels of -lekkages, vooral bij temperatuurschommelingen en trillingen. Een juiste OE Match-afdichtingsring zorgt voor een betrouwbare, oliedichte afdichting, waardoor de smering van de motor behouden blijft, olieverlies wordt voorkomen en bescherming tegen milieuverontreiniging wordt geboden.
Wanneer te vervangen:
• Elke keer dat de olieaftapplug wordt verwijderd
• Als de bestaande afdichtring scheuren, vervorming of corrosie vertoont.
• Bij het uitvoeren van routinematig olie- en filteronderhoud
• Nadat we lichte olielekkage bij de aftapplug hadden geconstateerd
• Tijdens motoronderhoud of het verwijderen van de oliecarter
Gerelateerde referentienummers
Gerelateerde, vervangen, kruisverwijzingen of alternatieve nummers ter vergelijking.
90012310630
Het product dat u bekijkt, verwijst naar deze nummers
- Porsche Boxster 718 2.0L Manual (300 Bhp) 2017>>
- Porsche Boxster 718 2.0L PDK (300 Bhp) 2017>>
- Porsche Boxster S 718 2.5L Manual (350 Bhp) 05/2017>>
- Porsche Boxster S 718 2.5L PDK (350 Bhp) 05/2017>>
- Porsche Boxster T 718 2.0L Manual (300 Bhp) 01/2019>>
- Porsche Boxster T 718 2.0L PDK (300 Bhp) 01/2019>>
- Porsche Boxster GTS 718 2.5L Manual (365 Bhp) 05/2017>>
- Porsche Boxster GTS 718 2.5L PDK (365 Bhp) 05/2017>>
- Porsche Cayman 718 2.0L Manual (300 Bhp)
- Porsche Cayman 718 2.0L PDK (300 Bhp)
- Porsche Cayman S 718 2.5L Manual (350 Bhp)
- Porsche Cayman S 718 2.5L PDK (350 Bhp)
- Porsche Cayman T 718 2.0L Manual (300 Bhp)
- Porsche Cayman T 718 2.0L PDK (300 Bhp)
- Porsche Cayman GTS 718 2.5L Manual (365 Bhp)
- Porsche Cayman GTS 718 2.5L PDK (365 Bhp)

Past bij:
Porsche 982 (718) Boxster 2017 >>
Porsche 982C (718C) Kaaiman 2017>>
Klik op 'Inzoomen' voor een groot onderdelenschema.
Schema ref. nr. 9
Gerelateerde referentienummers
Gerelateerde, vervangen, kruisverwijzingen of alternatieve nummers ter vergelijking.
9A210733702
Het product dat u bekijkt, verwijst naar deze nummers
- Porsche Boxster 718 2.0L Manual (300 Bhp) 2017>>
- Porsche Boxster 718 2.0L PDK (300 Bhp) 2017>>
- Porsche Boxster S 718 2.5L Manual (350 Bhp) 05/2017>>
- Porsche Boxster S 718 2.5L PDK (350 Bhp) 05/2017>>
- Porsche Boxster T 718 2.0L Manual (300 Bhp) 01/2019>>
- Porsche Boxster T 718 2.0L PDK (300 Bhp) 01/2019>>
- Porsche Boxster GTS 718 2.5L Manual (365 Bhp) 05/2017>>
- Porsche Boxster GTS 718 2.5L PDK (365 Bhp) 05/2017>>
- Porsche Cayman 718 2.0L Manual (300 Bhp)
- Porsche Cayman 718 2.0L PDK (300 Bhp)
- Porsche Cayman S 718 2.5L Manual (350 Bhp)
- Porsche Cayman S 718 2.5L PDK (350 Bhp)
- Porsche Cayman T 718 2.0L Manual (300 Bhp)
- Porsche Cayman T 718 2.0L PDK (300 Bhp)
- Porsche Cayman GTS 718 2.5L Manual (365 Bhp)
- Porsche Cayman GTS 718 2.5L PDK (365 Bhp)

Past bij:
Porsche 982 (718) Boxster 2017 >>
Porsche 982C (718C) Kaaiman 2017>>
Klik op 'Inzoomen' voor een groot onderdelenschema.
Schema ref. nr. 9
Gerelateerde referentienummers
Gerelateerde, vervangen, kruisverwijzingen of alternatieve nummers ter vergelijking.
9A210733702
Het product dat u bekijkt, verwijst naar deze nummers
Maandag-vrijdag: 8.30 - 17.30 uur (GMT) Zaterdag: Gesloten Zondag: Gesloten