do not press the back button…
-
Engine Parts
-
- Engine Rebuild Parts Oil System Parts Fuel System Parts Gaskets & Sets Belts / Tensioners / Rollers Chains & Tensioners Engine Bearings / Shells Engine Valves / Guides / Springs Rocker Arms & Tappets Engine Bolts / Studs Engine Mounts Piston Rings Engine Cylinders / Liners / Pistons Connecting Rod Cylinder Head / Camshaft Carrier Camshafts Camshaft gears / sprockets and fixings Crankcase Parts Crankshaft & Parts Turbo Chargers / Intercoolers & Parts Air Intake & Injection Specialist Tools
-
Brakes
-
- Brakes Brake Pads & Disc Package Brake Disc Standard Brake Pads Standard SPORTS Brake Disc Brembo Standard brakes Brembo Racing brakes TEXTAR Brakes PAGID Racing Brakes Zimmermann Brakes SHW Performance Brakes EBC Brakes Brake Pad Wear Sensors Brake Pad Anti-vibration shims Caliper Bolts / Disc Screws Pin Kit and Guide Plates Performance Brake Hoses Standard Brake Hoses Caliper and Brake Lines Brake Calipers Brake Caliper Upgrades Handbrake Shoes HandBrake Cables All Categories
-
-
Suspension & Steering
-
Transmission
-
- Gearbox / Transmission Gearbox Parts Driveshafts & Parts Gasket Sets / Gaskets / Seals / Lock Nuts Gearshift Control Parts Flywheel / Torque CV Joints Kits CV Boots and Kits Cardan Shaft / Prop Shaft Transmission Parts Gearbox / Differential Oil Gearbox Sump / Oil Pan Front Differential Rear Differential Transmission Cooling Transfer Box & parts
-
-
Cooling & Heating
-
- Heating / Air Conditioning Air con pipes Compressors Blower Motors & Fans Heater blowers Heater hoses & pipes Auxiliary coolant pump
-
-
Electrical & Lighting
-
- Electrical & Relays Brake Light Switch Handbrake Switch Window Switch Electric Horn SmartTop Control Units Washer pumps / bottles / jets Alarms / Security / Central Locking Electronic Control Units Dashboard / Console Parts & Switches Door Mirror Switch Air Bags & Parts Tracker Connector housing Wiring harness
-
-
Body & Exhaust
-
- Chassis / Bodywork Front Lid Damper Rear Lid Damper Bonnets / Locks & Latches Rear lid / Tailgate Bumpers Front Bumpers Rear Door Handles | Locks | Keys Door Panels | Hinges | Striker Plates Window Lifters | Motors Wings Front & Parts Wings Rear & Parts Mirrors & Parts Stone Chip Foils / Stickers Undertrays Chassis & Engine Rear Wiper Arms & Blades Wheel Arch Liners & Covers Roof - Cabrio / Targa / Coupe / Speedster Plastic Covers Sound Proofing Front screen Rear screen Rear side glass All Categories
-
-
Lubricants & Fluids
-
- Service Parts Oil Filters Air Filters Pollen/Particle Filters Belts All Types Spark Plugs Front Wiper Arms & Blades Rear Wiper Arms & Blades Gearbox Service Parts Engine Oil & Lubricants - Mobil Engine Oil & Lubricants - Total Engine Oil & Lubricants - Castrol Engine Oil & Lubricants - Motul Engine Oil & Lubricants - Millers Oils NanoDrive Engine Oil & Lubricants - Millers Oils Fuel Additives Garage PPE
-
-
All Parts
-
- Parts Accessories Chassis / Bodywork Brakes Clothing & Gifts Electrical & Relays Engine Cooling Engine Electrical Engine Rebuild Parts Engine Tuning Exhausts Exterior Styling / Spoilers Gearbox / Transmission Heating / Air Conditioning Hydraulics Interior & Accessories Incar / Multimedia Lighting Mats & Carpets Motorsport and Off-Road Pedal Cluster Rubber Seals Seats & Seat Belts All Categories
-
- Back to main website
Enter your VAT number here and click Verify:
Your details have been verified. VAT number registered to:
,
.
Your order will now be zero rated for VAT purposes. We reserve the right to verify these details after your order request has been made and reinstate VAT if required.
Your VAT details were not recognised or were invalid. Your VAT number must be matched to your Billing Country as specified above. This is currently specified as . You do not need to enter the country code part of your VAT number as this has already been selected in your billing address details above.
The VAT number checking service is currently offline. Please supply your VAT details within the comments or special instructions field below and we will apply a VAT discount after placing your order request.
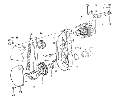
Drive belt. Porsche 957/958 Cayenne V6 3.0L DIESEL ❭ 95810221600
- Porsche 958 Cayenne V6 3.0L Diesel 245HP 2010-17
- Porsche 958 Cayenne S V8 4.2L Diesel 382HP 2010-17
Number of ribs: 6,
Width: 21 mm | Length: 2478 mm
Fits:
Porsche 957 Cayenne V6 3.0L DIESEL 2009-10
Porsche 958 Cayenne V6 3.0L DIESEL 2011
Click 'Zoom in' for large parts diagram.
Diagram ref no 18
Related reference numbers
Related, superseded, cross reference or alternative numbers for comparison.
95810221600
The product you are viewing cross references to these numbers
- Porsche 9YA Cayenne V6 3.0L Petrol 340Hp 2018-23
- Porsche 9YA Cayenne Coupe V6 3.0L Petrol 340Hp 2019-23
- Porsche 9YA Cayenne S V6 2.9L Petrol 440Hp 2018-23
- Porsche 9YA Cayenne Coupe S V6 2.9L Petrol 440Hp 2019-23
- Porsche 971.1 Panamera V6 3.0L 2WD (330 Hp) 2017-20
- Porsche 971.1 Panamera 4 V6 3.0L 4WD (330 Hp) 2017-20
- Porsche 971.1 Panamera 4 V6 3.0L 4WD Executive 2017-20
- Porsche 971.1 Panamera 4 3.0L Turbocharged V6 Sport Turismo 2017-20
- Porsche 971.1 Panamera 4S V6 3.0L 4WD (440 Hp) 2017-20
- Porsche 971.1 Panamera 4S V6 3.0L 4WD Executive 2017-20
- Porsche 971.1 Panamera 4S 2.9L Twin-Turbo V6 Sport Turismo 2017-20
- Porsche 971.2 Panamera 2.9L V6 2021-23
- Porsche 971.2 Panamera 4 2.9L V6 2021-23
- Porsche 971.2 Panamera 4 Sport Turismo 2.9L V6 2021-23
- Porsche 971.2 Panamera 4S 2.9L V6 2021-23
- Porsche 971.2 Panamera 4S Sport Turismo 2.9L V6 2021-23
- Porsche 95B.2 Macan S Petrol 3.0L V6 354Bhp 2019-21
- Porsche 95B.2 Macan GTS Petrol 2.9L V6 380Bhp 2019-21
- Porsche 95B.2 Macan Turbo 2.9L V6 440Bhp 2019-21
- Porsche 95B.3 Macan S Petrol 2.9L V6 380Bhp 2022>>
- Porsche 95B.3 Macan GTS Petrol 2.9L V6 440Bhp 2022>>

Fits:
Porsche 971.1 Panamera V6 3.0Ltr
Porsche 971.1 Panamera 4 V6 3.0Ltr
Porsche 971.1 Panamera 4S V6 3.0Ltr
Porsche 971.2 Panamera 2 V6 2.9Ltr
Porsche 971.2 Panamera 4 V6 2.9Ltr
Porsche 971.2 Panamera 4S V6 2.9Ltr
2019-2022
Porsche Macan S 3.0Ltr V6
Porsche Macan GTS 2.9Ltr V6
Porsche Macan turbo 2.9Ltr V6
Porsche E3 Cayenne 3.0Ltr V6 2018-2022
Porsche E3 Cayenne S 3.0Ltr V6 2018-2022
Related reference numbers
Related, superseded, cross reference or alternative numbers for comparison.
9A790313710
The product you are viewing cross references to these numbers
- Porsche 971.1 Panamera V6 3.0L 2WD (330 Hp) 2017-20
- Porsche 971.1 Panamera 4 V6 3.0L 4WD (330 Hp) 2017-20
- Porsche 971.1 Panamera 4 V6 3.0L 4WD Executive 2017-20
- Porsche 971.1 Panamera 4 3.0L Turbocharged V6 Sport Turismo 2017-20
- Porsche 971.1 Panamera 4S V6 3.0L 4WD (440 Hp) 2017-20
- Porsche 971.1 Panamera 4S V6 3.0L 4WD Executive 2017-20
- Porsche 971.1 Panamera 4S 2.9L Twin-Turbo V6 Sport Turismo 2017-20
- Porsche 971.2 Panamera 2.9L V6 2021-23
- Porsche 971.2 Panamera 4 2.9L V6 2021-23
- Porsche 971.2 Panamera 4 Sport Turismo 2.9L V6 2021-23
- Porsche 971.2 Panamera 4S 2.9L V6 2021-23
- Porsche 971.2 Panamera 4S Sport Turismo 2.9L V6 2021-23

Fits:
Porsche 971.1 Panamera V6 3.0Ltr
Porsche 971.1 Panamera 4 V6 3.0Ltr
Porsche 971.1 Panamera 4S V6 3.0Ltr
Porsche 971.2 Panamera 2 V6 2.9Ltr
Porsche 971.2 Panamera 4 V6 2.9Ltr
Porsche 971.2 Panamera 4S V6 2.9Ltr
Related reference numbers
Related, superseded, cross reference or alternative numbers for comparison.
9A726084910
The product you are viewing cross references to these numbers
- Porsche 9YA Cayenne V6 3.0L Petrol 340Hp 2018-23
- Porsche 9YA Cayenne Coupe V6 3.0L Petrol 340Hp 2019-23
- Porsche 9YA Cayenne S V6 2.9L Petrol 440Hp 2018-23
- Porsche 9YA Cayenne Coupe S V6 2.9L Petrol 440Hp 2019-23
- Porsche 971.1 Panamera V6 3.0L 2WD (330 Hp) 2017-20
- Porsche 971.1 Panamera 4 V6 3.0L 4WD (330 Hp) 2017-20
- Porsche 971.1 Panamera 4 V6 3.0L 4WD Executive 2017-20
- Porsche 971.1 Panamera 4 3.0L Turbocharged V6 Sport Turismo 2017-20
- Porsche 971.1 Panamera 4S V6 3.0L 4WD (440 Hp) 2017-20
- Porsche 971.1 Panamera 4S V6 3.0L 4WD Executive 2017-20
- Porsche 971.1 Panamera 4S 2.9L Twin-Turbo V6 Sport Turismo 2017-20
- Porsche 971.2 Panamera 2.9L V6 2021-23
- Porsche 971.2 Panamera 4 2.9L V6 2021-23
- Porsche 971.2 Panamera 4 Sport Turismo 2.9L V6 2021-23
- Porsche 971.2 Panamera 4S 2.9L V6 2021-23
- Porsche 971.2 Panamera 4S Sport Turismo 2.9L V6 2021-23
- Porsche 95B.2 Macan S Petrol 3.0L V6 354Bhp 2019-21
- Porsche 95B.2 Macan GTS Petrol 2.9L V6 380Bhp 2019-21
- Porsche 95B.2 Macan Turbo 2.9L V6 440Bhp 2019-21
- Porsche 95B.3 Macan S Petrol 2.9L V6 380Bhp 2022>>
- Porsche 95B.3 Macan GTS Petrol 2.9L V6 440Bhp 2022>>

Fits:
Porsche 971.1 Panamera V6 3.0Ltr
Porsche 971.1 Panamera 4 V6 3.0Ltr
Porsche 971.1 Panamera 4S V6 3.0Ltr
Porsche 971.2 Panamera 2 V6 2.9Ltr
Porsche 971.2 Panamera 4 V6 2.9Ltr
Porsche 971.2 Panamera 4S V6 2.9Ltr
2019-2022
Porsche Macan S 3.0Ltr V6
Porsche Macan GTS 2.9Ltr V6
Porsche Macan turbo 2.9Ltr V6
Porsche E3 Cayenne 3.0Ltr V6 2018-2022
Porsche E3 Cayenne S 3.0Ltr V6 2018-2022
Related reference numbers
Related, superseded, cross reference or alternative numbers for comparison.
9A790313710
The product you are viewing cross references to these numbers
Monday-Friday: 8.30am - 5.30pm (GMT)
Saturday: Closed
Sunday: Closed