- Porsche 997 MK1 TURBO 2007-09
- Porsche 997 MK1 GT2 2007-09
- Porsche 997 MKII Turbo 2010-13
- Porsche 997 MKII GT2 RS 2011-13
- Porsche 955 Cayenne Turbo 4.5L 2003-06
- Porsche 955 Cayenne Turbo S 4.5L 2006>>
- Porsche 957 Cayenne Turbo / Turbo S 4.8L 2007-10
- Porsche 958 Cayenne Turbo V8 4.8L Petrol 500HP 2010-17
- Porsche 958 Cayenne Turbo S V8 4.8L Petrol 550HP 2010-17
- Porsche 970.1 Panamera Turbo V8 4.8L 2009-13
- Porsche 970.1 Panamera Turbo S V8 4.8L 2009-13
- Porsche 970.2 Panamera Turbo V8 4.8L (520Hp) 2014-16

Fits:
Porsche 996 Turbo / GT2 2001-05
Porsche 997 Turbo / GT2 / GT2 RS 2007-11
Porsche 997 Turbo / Turbo S 2010-13
Porsche 955 Cayenne Turbo 4.5L V8 2003-06
Porsche 957 Cayenne Turbo 4.8L V8 2007-10
Porsche 958 Cayenne Turbo 4.8L 2011>>
Porsche 970 Panamera Turbo 4.8L 2011>>
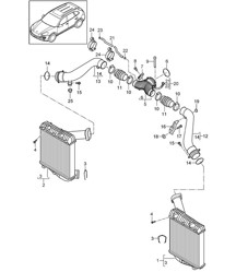
Click 'Zoom in' for large parts diagram.
Diagram ref no 7
Related reference numbers
Related, superseded, cross reference or alternative numbers for comparison.
99660618000
The product you are viewing cross references to these numbers
Shop Securely
12 Month Warranty
Worldwide Delivery
