Enter your VAT number here and click Verify:
Your details have been verified. VAT number registered to:
,
.
Your order will now be zero rated for VAT purposes. We reserve the right to verify these details after your order request has been made and reinstate VAT if required.
Your VAT details were not recognised or were invalid. Your VAT number must be matched to your Billing Country as specified above. This is currently specified as . You do not need to enter the country code part of your VAT number as this has already been selected in your billing address details above.
The VAT number checking service is currently offline. Please supply your VAT details within the comments or special instructions field below and we will apply a VAT discount after placing your order request.
Rear Spoiler Seals
- Porsche 911 1974-1977 2.7L / 1976-77 3.0 Carrera
- Porsche 911 1978-1983 3.0L / SC

Fits:
Porsche 911 1974-80
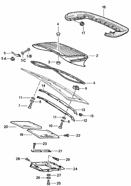
Click 'Zoom in' for parts diagram.
Diagram Ref no 10
Related reference numbers
Related, superseded, cross reference or alternative numbers for comparison.
91151228300
The product you are viewing cross references to these numbers
- Porsche 911 1974-1977 2.7L / 1976-77 3.0 Carrera
- Porsche 911 1978-1983 3.0L / SC

Fits:
Porsche 911 1974-80
Click 'Zoom in' for parts diagram.
Diagram Ref no 13
Related reference numbers
Related, superseded, cross reference or alternative numbers for comparison.
91151228400
The product you are viewing cross references to these numbers
- Porsche 911 1968-1973 2.2L / 2.4L / 2.7L RS LWB (F)
- Porsche 911 1974-1977 2.7L / 1976-77 3.0 Carrera
- Porsche 911 1978-1983 3.0L / SC
- Porsche 911 1984-1986 3.2L
- Porsche 911 1987-1989 3.2L G50

Fits:
Porsche 911 1984-89 (not Turbo)
It will fit any car fitted with Carrera Tail Spoiler
Click picture for large parts diagram.
Diagram Ref: 16
Related reference numbers
Related, superseded, cross reference or alternative numbers for comparison.
9115120910101C
The product you are viewing cross references to these numbers
- Porsche 911 1965-1968 2.0L / 912 SWB (F)
- Porsche 911 1968-1973 2.2L / 2.4L / 2.7L RS LWB (F)
- Porsche 911 1974-1977 2.7L / 1976-77 3.0 Carrera
- Porsche 911 1978-1983 3.0L / SC
- Porsche 911 1984-1986 3.2L
- Porsche 911 1987-1989 3.2L G50
Spoiler to body

Fits:
Porsche 911 1965-89 (not Turbo)
Click 'Zoom in' for large parts diagram.
Diagram Ref: 6
Related reference numbers
Related, superseded, cross reference or alternative numbers for comparison.
91151221500
The product you are viewing cross references to these numbers
- Porsche 911 1965-1968 2.0L / 912 SWB (F)
- Porsche 911 1968-1973 2.2L / 2.4L / 2.7L RS LWB (F)
- Porsche 911 1974-1977 2.7L / 1976-77 3.0 Carrera
- Porsche 911 1978-1983 3.0L / SC
- Porsche 911 1984-1986 3.2L
- Porsche 911 1987-1989 3.2L G50
Spoiler to body

Fits:
Porsche 911 1965-89 (not Turbo)
Click picture for large parts diagram.
Diagram Ref: 6
Related reference numbers
Related, superseded, cross reference or alternative numbers for comparison.
91151221500
The product you are viewing cross references to these numbers
- Porsche 911 1974-1977 2.7L / 1976-77 3.0 Carrera
- Porsche 911 1978-1983 3.0L / SC
- Porsche 911 1984-1986 3.2L
- Porsche 911 1987-1989 3.2L G50
- Porsche 911 1978-1989 3.3L Turbo (930)
- Porsche 964 (911) TURBO 3.3L 1991-93
- Porsche 964 (911) TURBO 3.6L 1991-93
Spoiler to body.

Fits:
Porsche 911 1981-89 Turbo / Turbo-Look
Porsche 964 1989-94 Turbo / Turbo-Look
Click 'Zoom in' for large parts diagram.
Diagram ref no 6
Related reference numbers
Related, superseded, cross reference or alternative numbers for comparison.
93051221500
The product you are viewing cross references to these numbers
- Porsche 911 1974-1977 2.7L / 1976-77 3.0 Carrera
- Porsche 911 1978-1983 3.0L / SC
- Porsche 911 1984-1986 3.2L
- Porsche 911 1987-1989 3.2L G50
- Porsche 911 1978-1989 3.3L Turbo (930)
- Porsche 964 (911) TURBO 3.3L 1991-93
- Porsche 964 (911) TURBO 3.6L 1991-93
The spoiler gasket is an replacement designed to seal the junction between the rear spoiler and the engine lid panel on classic Porsche 911 and 964 models. It acts as a protective and sealing buffer, completing the factory-installed spoiler assembly.
Fits:
Porsche 911 1981-89 Turbo / Turbo-Look
Porsche 964 1989-94 Turbo / Turbo-Look
Diagram ref no 6
This gasket creates a clean, protective seal between the rear spoiler and the body, preventing water, dirt, and debris from entering the gap. It cushions the spoiler to avoid vibration and paint wear while ensuring the spoiler sits evenly for a proper factory appearance.
Over time, the original seal can harden, crack, or shrink, allowing moisture and dirt to accumulate beneath the spoiler and causing paint damage or corrosion. Replacing it restores a tight, protective seal, preserves the finish of the engine lid, and improves the overall fit and look of the spoiler.
Replace this spoiler seal if:
• The existing gasket is cracked, hard, or shrunken
• There’s visible wear between the spoiler and the engine lid
• Water or dust is accumulating under the spoiler
• The spoiler sits unevenly due to a flattened seal
• You are repainting, restoring, or replacing the spoiler
Related reference numbers
Related, superseded, cross reference or alternative numbers for comparison.
93051221500
The product you are viewing cross references to these numbers
- Porsche 911 1974-1977 2.7L / 1976-77 3.0 Carrera
- Porsche 911 1978-1983 3.0L / SC
Fits:
Porsche 911 1974-80
Click 'Zoom in' for parts diagram.
Diagram Ref no 1
Related reference numbers
Related, superseded, cross reference or alternative numbers for comparison.
91151201902
The product you are viewing cross references to these numbers
- Porsche 911 1974-1977 2.7L / 1976-77 3.0 Carrera
- Porsche 911 1978-1983 3.0L / SC
- Porsche 911 1984-1986 3.2L
- Porsche 911 1987-1989 3.2L G50
- Porsche 911 1975-1977 3.0L Turbo (930)
- Porsche 911 1978-1989 3.3L Turbo (930)

Fits:
Porsche 930 3.3L Turbo 1981-89
Porsche 911 1974-89 with Turbo spoiler
Click picture for parts diagram.
Diagram Ref: 16
Related reference numbers
Related, superseded, cross reference or alternative numbers for comparison.
93051202101
The product you are viewing cross references to these numbers
Perfect for sealing weatherstripping to door, hood, and trunk panels.
Related reference numbers
Related, superseded, cross reference or alternative numbers for comparison.
00004330532
The product you are viewing cross references to these numbers
Porsche Rear Spoiler Seals | Design911 Rubber Sealing Components for Aerodynamics & Protection
Rear spoiler seals are a key component in maintaining your Porsche’s aerodynamics, weather protection, and overall finish. These precision-moulded rubber seals ensure a perfect fit between the spoiler and the bodywork, preventing water, dust, and air from entering critical areas while maintaining smooth aerodynamic flow. A correctly sealed spoiler not only enhances performance but also protects paintwork and internal components from damage caused by moisture or vibration.
At Design911, we supply a premium selection of rear spoiler rubber seals designed for precision, durability, and resilience. Manufactured from high-grade EPDM rubber, our seals resist UV exposure, heat, and deformation — ensuring lasting performance under all driving conditions. Ideal for performance upgrades, restorations, or maintenance, these components deliver both aerodynamic precision and long-term body protection.
What Do Rear Spoiler Seals Do?
Rear spoiler seals form a protective barrier that maintains aerodynamic efficiency while preventing the ingress of contaminants.
Core Functions:
• Create a tight seal between the rear spoiler and vehicle body.
• Prevent water, dust, and debris from entering the rear panel or tail section.
• Reduce vibration, noise, and panel wear at high speeds.
• Maintain aerodynamic balance and downforce performance.
• Protect paintwork and structural joints from friction damage.
High-quality spoiler seals ensure your Porsche’s aerodynamic parts function optimally — keeping performance sharp and protection intact.
Why Do Rear Spoiler Seals Fail or Degrade?
Exposure to extreme temperatures, UV light, and repeated aerodynamic pressure can cause spoiler seals to wear or lose flexibility over time.
Common Causes of Failure Include:
• UV and ozone exposure leading to hardening or cracking.
• Heat from the engine bay or exhaust affecting rubber elasticity.
• Compression fatigue from high-speed air pressure and vibration.
• Contamination from cleaning agents, fuel, or road grime.
• Age-related shrinkage causing poor fit and gaps.
Once compromised, the seal allows moisture ingress, noise, and aerodynamic inefficiency — making replacement essential for both performance and preservation.
Why Replace or Upgrade Your Porsche Rear Spoiler Seal?
Replacing a worn rear spoiler seal ensures your Porsche retains optimal aerodynamics, protection, and aesthetics. Upgraded materials provide improved resistance to environmental wear and deformation.
Key Benefits:
• Restores proper sealing and aerodynamic efficiency.
• Prevents water leaks and corrosion in rear body panels.
• Reduces wind noise and vibration.
• Precision-engineered for Porsche 911, Cayman, Boxster, and 718 models.
• Manufactured from high-quality, weather-resistant rubber.
• Ideal for restorations, repairs, and performance detailing.
Design911’s Porsche rear spoiler seals are built for performance, ensuring perfect fit, resilience, and aerodynamic harmony across all Porsche models.
Highlights
• Premium Porsche rear spoiler rubber seals and sealing
kits.
• Heat-, UV-, and weather-resistant for long-term reliability.
• Precision-moulded for exact fitment and aerodynamic function.
• Improves airflow and prevents moisture penetration.
• Compatible with both classic and modern Porsche models.
• Perfect for restoration, tuning, or spoiler upgrade projects.