Enter your VAT number here and click Verify:
Your details have been verified. VAT number registered to:
,
.
Your order will now be zero rated for VAT purposes. We reserve the right to verify these details after your order request has been made and reinstate VAT if required.
Your VAT details were not recognised or were invalid. Your VAT number must be matched to your Billing Country as specified above. This is currently specified as . You do not need to enter the country code part of your VAT number as this has already been selected in your billing address details above.
The VAT number checking service is currently offline. Please supply your VAT details within the comments or special instructions field below and we will apply a VAT discount after placing your order request.
Inter Coolers
- Porsche 957 Cayenne Turbo / Turbo S 4.8L 2007-10
- Porsche 958 Cayenne Turbo V8 4.8L Petrol (500Hp) 2010-17
- Porsche 958 Cayenne Turbo S V8 4.8L Petrol (550Hp) 2010-17
This OE Match Charge air cooler & pipe kit is a complete intake cooling solution for Porsche Cayenne Turbo models. It includes left and right OE Match intercoolers along with genuine Porsche intercooler pipes and hose clamps for a full system replacement.
Fits:
Porsche 957 Cayenne Turbo 4.8L V8 2007 - 2010
Porsche 958 Cayenne Turbo 4.8L V8 2011 - 2018
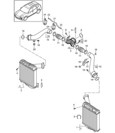
Diagram ref no 1, 2, 11, 12, 15.
This comprehensive kit is designed to restore the efficiency and reliability of the turbocharged intake cooling system.
Kit includes:
1 × OE Match intercooler (left) – 95511063901
1 × OE Match intercooler (right) – 95511064001
1 × Genuine Porsche intercooler pipe (left) – 95511062301
1 × Genuine Porsche intercooler pipe (right) – 95511062410
2 × Genuine Porsche hose clamps – N10619801
The intercoolers (Charge air cooler) are manufactured to OE specifications, ensuring optimal heat dissipation and precise fitment. Positioned at the front of the vehicle, they cool compressed air from the turbochargers before it enters the engine.
The included genuine Porsche pipes and clamps ensure proper sealing, fitment, and durability - critical for maintaining boost pressure and preventing leaks.
This kit cools the compressed intake air from the turbochargers, increasing air density and improving combustion efficiency. By lowering intake temperatures, it enhances engine performance, power output, and reliability.
Replacing both intercoolers and associated pipework ensures a fully sealed system, preventing boost leaks and restoring optimal turbo performance.
Function
• Reduces intake air temperature from turbochargers
• Improves engine efficiency and power output
• Maintains consistent boost pressure
• Ensures leak-free airflow with genuine pipework
This system is essential for maintaining performance in turbocharged Porsche engines.
Over time, intercoolers can become clogged, corroded, or develop internal leaks, reducing cooling efficiency. Pipework and clamps can also wear or loosen, leading to boost leaks and loss of performance. Replacing the complete system ensures proper cooling, restores lost power, and prevents engine strain caused by high intake temperatures or pressure loss.
When to replace
• Loss of power or reduced turbo performance
• Boost leaks or hissing noises under acceleration
• Oil contamination inside intercoolers
• Visible damage or corrosion to intercoolers
• Fault codes related to boost pressure or intake air temperature
Related reference numbers
Related, superseded, cross reference or alternative numbers for comparison.
INTERCOOLERKIT.957T
The product you are viewing cross references to these numbers
This kit is comprised of the following items:
- Porsche 957 Cayenne Turbo / Turbo S 4.8L 2007-10
- Porsche 958 Cayenne Turbo V8 4.8L Petrol (500Hp) 2010-17
- Porsche 958 Cayenne Turbo S V8 4.8L Petrol (550Hp) 2010-17
This OE Match intercooler is a direct replacement for Porsche part, manufactured to original specifications, it ensures precise fitment and reliable performance within the turbocharged intake system. Installed at the front of the vehicle, the intercooler cools compressed air from the turbochargers before it enters the engine. By reducing intake air temperature, it improves combustion efficiency and supports optimal engine performance.
Fits:
Porsche 957 Cayenne Turbo 4.8L 2007 - 2010
Porsche 958 Cayenne Turbo 4.8L 2011 - 2018
Diagram ref no 1 (left) and 2 (right)
The intercooler lowers the temperature of compressed air from the turbochargers, increasing air density and improving engine efficiency. This results in better power output, improved throttle response, and enhanced reliability.
A properly functioning intercooler is essential for maintaining consistent turbo performance and preventing heat-related power loss.
Function
• Cools compressed intake air from turbochargers
• Improves combustion efficiency and engine performance
• Maintains stable intake air temperatures
• Supports consistent boost pressure and power delivery
This component is critical for performance and engine protection in turbocharged vehicles.
Over time, intercoolers can become clogged, corroded, or develop internal leaks, reducing their cooling efficiency. This can lead to higher intake temperatures, reduced performance, and increased engine stress.
Replacing a worn intercooler restores proper cooling, improves engine efficiency, and ensures reliable turbocharged performance.
When to replace:
• Loss of power or reduced turbo efficiency
• Boost leaks or hissing noises
• Oil contamination inside intercooler
• Visible external damage or corrosion
• Fault codes related to intake temperature or boost pressure
Related reference numbers
Related, superseded, cross reference or alternative numbers for comparison.
9551106
The product you are viewing cross references to these numbers
- Porsche 957 Cayenne Turbo / Turbo S 4.8L 2007-10
- Porsche 958 Cayenne Turbo V8 4.8L Petrol (500Hp) 2010-17
- Porsche 958 Cayenne Turbo S V8 4.8L Petrol (550Hp) 2010-17
The Porsche Genuine OE Intercooler Pipes (Part Nos. 95511062301 – left and 95511062410 – right) are factory-engineered charge air pipes designed for turbocharged Porsche Cayenne models. These components form a key part of the boost air intake system, connecting the turbocharger, intercooler, and intake system.
Fits:
Porsche 957 Cayenne Turbo 4.8L V8 2007 - 2010
Porsche 958 Cayenne Turbo 4.8L V8 2011 - 2018
Diagram ref no 11 (left) or 12 (right)
Each pipe is supplied individually (sold separately) and is side-specific:
• 95511062301 – Left intercooler pipe
• 95511062410 – Right intercooler pipe
Manufactured to Porsche’s original equipment standards, these pipes ensure correct fitment, pressure resistance, and durability in high-performance turbocharged environments.
Intercooler pipes carry compressed air from the turbocharger to the intercooler and onward to the engine intake. This process cools the air before it enters the engine, increasing air density and improving combustion efficiency, which results in better performance and power output.
By maintaining a sealed and pressurised pathway, the pipes ensure the engine receives the correct amount of boost pressure for optimal operation.
Functions & Technical Role
• Charge air transfer: Delivers compressed air between turbo, intercooler, and intake
• Boost pressure integrity: Maintains sealed airflow under high pressure
• Performance optimisation: Supports efficient combustion and engine power
• Heat resistance: Designed to withstand high temperatures and turbo boost conditions
• OEM precision fit: Exact routing and connections to match Porsche factory design
Intercooler pipes operate under high pressure, heat, and constant airflow. Over time, they can develop cracks, leaks, or loose connections, leading to:
• Loss of boost pressure and reduced engine performance
• Hissing or whistling noises under acceleration
• Check engine light (underboost faults)
• Poor fuel efficiency and sluggish acceleration
Replacing worn pipes with genuine Porsche OE components restores proper boost pressure, engine performance, and reliability.
Related reference numbers
Related, superseded, cross reference or alternative numbers for comparison.
95511062
The product you are viewing cross references to these numbers
- Porsche 957 Cayenne 3.0L Diesel 2007-10
- Porsche 958 Cayenne V6 3.0L Diesel (245Hp) 2010-17
Fits:
Porsche 957 Cayenne 3.0L DIESEL
Porsche 958 Cayenne 3.0L DIESEL
Click 'Zoom in' for large parts diagram.
Diagram ref no 1 (LEFT) and 2 (RIGHT)
Related reference numbers
Related, superseded, cross reference or alternative numbers for comparison.
9551106
The product you are viewing cross references to these numbers
- Porsche 957 Cayenne 3.0L Diesel 2007-10
- Porsche 958 Cayenne V6 3.0L Diesel (245Hp) 2010-17
Fits:
Porsche 957 Cayenne 3.0L DIESEL
Porsche 958 Cayenne 3.0L DIESEL
Click 'Zoom in' for large parts diagram.
Diagram ref no 1 (LEFT) and 2 (RIGHT)
Related reference numbers
Related, superseded, cross reference or alternative numbers for comparison.
9551106
The product you are viewing cross references to these numbers
Porsche Inter Coolers
At Design911, we supply a wide range of inter coolers for Porsche models, helping you maintain, personalise and enjoy your car.
Why do Porsche Inter Coolers matter?
Inter Coolers affect how efficiently the engine in your Porsche runs, especially on turbocharged models. Over time they can suffer from leaks, corrosion and reduced efficiency, or simply no longer be suitable once you start tuning the engine. Replacing tired or undersized intercoolers helps your Porsche stay reliable, consistent and enjoyable to drive, particularly under heavy load.
- Keep your Porsche looking smart rather than tired or neglected
- Help protect the surrounding area from dirt and corrosion where relevant
- Reduce minor niggles such as looseness, rattles or mismatched parts
- Support long-term enjoyment, pride of ownership and potential resale value
Common options & kits
Individual replacement parts
Specific items to address a particular area or issue without changing everything at once.
- Ideal for targeted repairs
- Lets you replace only what is needed
- Helps keep initial costs under control
Matched sets or pairs
Components supplied together so both sides or related items are renewed at the same time.
- Consistent feel and performance
- Helps avoid uneven wear or behaviour
- A sensible choice for routine maintenance
Complete kits
Grouped parts designed to refresh a whole system or area in one go, useful for upgrades and restorations.
- Everything specified in a single package
- Saves time compared with sourcing parts individually
- Ideal when upgrading or restoring your Porsche
Brands & quality options
At Design911, we stock genuine Porsche parts where available, plus OEM-equivalent and carefully selected aftermarket brands. This lets you choose between keeping things original, adding subtle upgrades, or managing budgets on everyday maintenance.
Agency Power
Agency Power produces a range of functional racing and performance products, including parts for Porsche models. Components are developed through track use and product testing to help ensure fitment and consistency.
Alpha
Alpha Performance, part of AMS, engineers intercooler systems and related components with a focus on efficient cooling and durability. Their Porsche products are developed using computer-aided design and motorsport experience to optimise fitment and airflow.
BBi Autosport
BBi Autosport is a Porsche-focused motorsport and tuning company with decades of combined racing experience. Their performance parts are developed from track programmes and professional racing, with attention to fit, function and workshop use.
CSF
CSF designs and manufactures high‑performance Porsche cooling products for motorsport and enthusiast use. Their intercoolers and radiators focus on efficient heat rejection, robust construction and reliable fitment.
Denso
Always check the exact part number and fitment data when choosing Denso components to ensure the correct match for your specific Porsche model and engine.
When should you review or replace your Porsche inter coolers?
Checking inter coolers regularly helps you spot wear, damage or age-related deterioration before it affects comfort, refinement or leads to more expensive repairs later on.
- Existing parts are worn, cracked, scuffed, faded, corroded or missing
- You notice looseness, vibration or an untidy appearance around the area they sit in
- You have had related work carried out and want everything to look and feel consistent
- You want the car to feel smarter and better cared for in daily use or before resale
If any of these apply, it is a good time to review your inter coolers and replace anything that is past its best, so your Porsche stays dependable and enjoyable to drive.
Explore Porsche inter coolers with Design911
Browse inter coolers for Porsche at Design911 — from individual parts to complete kits — and find options to suit everyday maintenance, upgrades and full projects.