Enter your VAT number here and click Verify:
Your details have been verified. VAT number registered to:
,
.
Your order will now be zero rated for VAT purposes. We reserve the right to verify these details after your order request has been made and reinstate VAT if required.
Your VAT details were not recognised or were invalid. Your VAT number must be matched to your Billing Country as specified above. This is currently specified as . You do not need to enter the country code part of your VAT number as this has already been selected in your billing address details above.
The VAT number checking service is currently offline. Please supply your VAT details within the comments or special instructions field below and we will apply a VAT discount after placing your order request.
Wiring Harness / Cables
- Porsche 958 Cayenne V6 3.0L Diesel (245Hp) 2010-17
- Porsche 958 Cayenne S V6 3.0L Hybrid (380Hp) 2010-17
Fits:
Porsche 958 Cayenne 3.0L 2014-18
Porsche 958 Cayenne 3.0L Diesel 2014-18
Porsche 958 Cayenne 3.0L Hybrid 2014-18
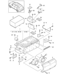
Diagram ref no 14
Related reference numbers
Related, superseded, cross reference or alternative numbers for comparison.
95861119910
The product you are viewing cross references to these numbers
- Porsche 958 Cayenne S V6 3.0L Hybrid (380Hp) 2010-17

Fits:
Porsche 958 Cayenne 3.0L Hybrid >>2014 RHD cars
cars with option code: 0GG - Emissions compliance EU 4
cars with option code: 0GU - EU 4 emissions concept without EOBD
cars with option code: 7MG - Emissions concept EU 5
Click 'Zoom in' for large parts diagram.
Diagram ref no 1
Related reference numbers
Related, superseded, cross reference or alternative numbers for comparison.
95861201975
The product you are viewing cross references to these numbers
- Porsche 958 Cayenne S V6 3.0L Hybrid (380Hp) 2010-17
- Porsche 970.1 Panamera S Hybrid V6 3.0L 2011-13
Fits:
Porsche 958 Cayenne 3.0L HYBRID >>2014
Porsche 970 Panamera 3.0L HYBRID >>2013
Click 'Zoom in' for large parts diagram.
Diagram ref no 22
Related reference numbers
Related, superseded, cross reference or alternative numbers for comparison.
95861205900
The product you are viewing cross references to these numbers
- Porsche 958 Cayenne V6 3.6L Petrol (300Hp) 2010-17
- Porsche 958 Cayenne V6 3.0L Diesel (245Hp) 2010-17
- Porsche 958 Cayenne S V6 3.0L Hybrid (380Hp) 2010-17
- Porsche 958 Cayenne S V8 4.8L Petrol (400Hp) 2010-17
- Porsche 958 Cayenne S V8 4.2L Diesel (382Hp) 2010-17
- Porsche 958 Cayenne GTS V8 4.8L Petrol (400Hp) 2010-17
- Porsche 958 Cayenne Turbo V8 4.8L Petrol (500Hp) 2010-17
- Porsche 958 Cayenne Turbo S V8 4.8L Petrol (550Hp) 2010-17

Fits:
Porsche 958 Cayenne 2015-2016 (not for 3.0L petrol engine)
Cars with :
- Automatic distance control + cruise control ACC from MY 04 (option code 8T3)
- Preparation, VTS (Vehicle Tracking System), with driver cars, connection to alarm system, re-start inhibitor (option code 7G5)
- VTS preparation and Porsche Car Connect (pcc) (option code 7G9)
- VTS security package (incl. PCC) and keypad (option code 7I0 )
- VTS security package (with PCC) (option code 7I2)
Diagram ref no 8
Related reference numbers
Related, superseded, cross reference or alternative numbers for comparison.
95861236040
The product you are viewing cross references to these numbers
- Porsche 958 Cayenne S V6 3.0L Hybrid (380Hp) 2010-17

Fits:
Porsche 958 Cayenne 3.0L Hybrid >>2014
F >> 92-BLA90 669
cars with option code: 0GG - Emissions compliance EU 4
cars with option code: 7MG - Emissions concept EU 5
Click 'Zoom in' for large parts diagram.
Diagram ref no 1
Related reference numbers
Related, superseded, cross reference or alternative numbers for comparison.
95860701051
The product you are viewing cross references to these numbers
-
Hybrid / Battery Cayenne 92A (958) Hybrid >>2014 901-040
-
Starter / Alternator / Earth line Cayenne 92A (958) >>2014 902-002
-
Starter / Alternator / Earth line Cayenne 92A (958) 2015>> 902-003
-
Wiring looms / Engine bay / Gearbox Cayenne 92A (958) >>2014 902-006
-
Wiring looms / Engine Cayenne 92A (958) >> 2014 902-008
-
Wiring looms / Passenger compartment / bumper / FRONT luggage compartment / anti-locking brake syst. -abs- / brake pad wear display / Front axle Cayenne 92A (958) 2015>> 902-011
Wiring Harnesses & Cables – Reliable Electrical Connectivity for Porsche Vehicles
Wiring harnesses and cables are the lifeblood of your Porsche’s electrical system, transmitting power and data between critical components such as sensors, lights, ignition systems, and control modules. A healthy wiring system ensures reliable communication across all vehicle systems — from the engine to interior electronics — maintaining performance, safety, and comfort.
At Design911, we supply an extensive range of genuine and high-quality wiring harnesses and cables for various Porsche models, including 911, Boxster, Cayman, Cayenne, Macan, and Panamera models. Each harness and cable is precision-engineered for durability, exact fitment, and optimal electrical conductivity to keep your Porsche performing at its best.
What Do Wiring Harnesses and Cables Do?
Wiring harnesses and cables connect all
electrical and electronic systems within your Porsche, ensuring dependable
power distribution and signal transmission. Their key roles include:
- Delivering electrical power from the battery and alternator to essential systems.
- Transmitting data signals between the ECU, sensors, and modules.
- Supporting lighting, ignition, and climate control circuits.
- Reducing wiring complexity by grouping circuits into one protected unit.
A well-maintained harness ensures stable voltage delivery, preventing power losses, short circuits, and intermittent faults.
Why Do Wiring Harnesses and Cables Fail?
Due to exposure to vibration, heat, and
environmental elements, wiring and cables naturally degrade over time. Common
causes of failure include:
- Corrosion or oxidation on terminals and connectors.
- Broken or frayed wires from movement or mechanical stress.
- Insulation cracking due to heat and age.
- Rodent damage or external wear from abrasion.
- Water ingress leading to short circuits and poor conductivity.
Symptoms of wiring failure can include intermittent electrical faults, warning lights, non-functioning accessories, or complete electrical system failure.
Why Replace
Damaged Wiring Harnesses or Cables?
Replacing worn or damaged wiring ensures
electrical reliability, safety, and proper communication between all systems.
Faulty wiring can lead to voltage drops, malfunctions, or even electrical fires
if left unchecked.
Benefits of replacement include:
- Restored electrical performance and reliability.
- Prevention of intermittent faults and short circuits.
- Improved signal integrity for sensors and control units.
- Long-lasting durability with manufacturer-quality construction.
All wiring harnesses and cables in our range are built using high-quality copper conductors, heat-resistant sheathing, and precision connectors, ensuring exceptional reliability under all conditions.