Retro Trim
- Porsche 911 1974-1977 2.7L / 1976-77 3.0 Carrera
- Porsche 911 1978-1983 3.0L / SC
- Porsche 911 1984-1986 3.2L
- Porsche 911 1987-1989 3.2L G50
- Porsche 911 1975-1977 3.0L Turbo (930)
- Porsche 911 1978-1989 3.3L Turbo (930)
- Porsche 964 (911) C2 1989-93
- Porsche 964 (911) C4 1989-93
- Porsche 964 (911) RS 3.6L 1991-93
- Porsche 964 (911) RS 3.8L 1991-93
- Porsche 964 (911) TURBO 3.3L 1991-93
- Porsche 964 (911) TURBO 3.6L 1991-93
- Porsche 993 (911) C2 1994-97
- Porsche 993 (911) C4 1994-97
- Porsche 993 (911) RS 1994-97
- Porsche 993 (911) C2S 1994-97
- Porsche 993 (911) C4S 1994-97
- Porsche 993 (911) TURBO 1994-96
- Porsche 993 (911) GT2 1994-97
- Porsche 993 (911) TURBO S 1994-97

Si adatta:
Porsche 911/930 dal 1974 al 1989
Porsche 911 E 1976
Porsche 911 Carrera 3.2
Porsche 964 1989-94
Porsche 993 1995-96
Iniziamo con un pannello di fibra resistente all'acqua appositamente progettato per i pannelli delle porte e vi leghiamo un sottile strato di schiuma fonoassorbente/vibrante. Questo rende il viaggio tranquillo.
Questo set è rivestito in materiale vinilico nero. Tutti i fori nel pannello di fibra e l'isolamento sono fustellati di precisione (nessun router o seghe a sciabola). La fustellatura si adatta perfettamente e si incastrano perfettamente. Devi semplicemente ritagliare il rivestimento per gli accessori che hai e indossarli.
Questo set include:
• Maniglie delle porte con cornici,
• Cinghie apriporta in rosso con cornici,
• Kit di ancoraggio maniglia con strumento di installazione (fissiamo la nostra maniglia alla porta, non al pannello della porta come le altre), • (6) fermi pannello in plastica, oltre a un set di viti e anelli di rifinitura.
- Porsche 911 1965-1968 2.0L / 912 SWB (F)
- Porsche 911 1968-1973 2.2L / 2.4L / 2.7L RS LWB (F)

Si adatta:
Porsche 911/912 dal 1965 al 1973
Iniziamo con un pannello di fibra resistente all'acqua appositamente progettato per i pannelli delle porte e vi leghiamo un sottile strato di schiuma fonoassorbente/vibrante. Questo rende il viaggio tranquillo.
Questo set è rivestito in materiale vinilico nero. Tutti i fori nel pannello di fibra e l'isolamento sono fustellati di precisione (nessun router o seghe a sciabola). La fustellatura si adatta perfettamente e si incastrano perfettamente. Devi semplicemente ritagliare il rivestimento per gli accessori che hai e indossarli.
Questo set include:
• Pannelli in vinile nero,
• Maniglie delle porte con cornici OEM,
• Cinghie apriporta in rosso con cornici OEM,
• Kit di ancoraggio della maniglia con strumento di installazione (ancoraggio della maniglia alla porta, non al pannello della porta come gli altri),
• (6) fermi pannello pannello in plastica,
• viti e anelli di rifinitura
• istruzioni complete.
- Porsche 911 1965-1968 2.0L / 912 SWB (F)
- Porsche 911 1968-1973 2.2L / 2.4L / 2.7L RS LWB (F)

Si adatta:
Porsche 911/912 dal 1965 al 1973
Iniziamo con un pannello di fibra resistente all'acqua appositamente progettato per i pannelli delle porte e vi leghiamo un sottile strato di schiuma fonoassorbente/vibrante. Questo rende il viaggio tranquillo.
Questo set è rivestito in materiale vinilico nero. Tutti i fori nel pannello di fibra e l'isolamento sono fustellati di precisione (nessun router o seghe a sciabola). La fustellatura si adatta perfettamente e si incastrano perfettamente. Devi semplicemente ritagliare il rivestimento per gli accessori che hai e indossarli.
Questo set include:
• Pannelli in vinile nero,
• Maniglie delle porte con cornici OEM,
• Cinghie apriporta in rosso con cornici OEM,
• Kit di ancoraggio della maniglia con strumento di installazione (ancoraggio della maniglia alla porta, non al pannello della porta come gli altri),
• (6) fermi pannello pannello in plastica,
• viti e anelli di rifinitura
• istruzioni complete.
- Porsche 911 1965-1968 2.0L / 912 SWB (F)
(In senso stretto, si riferiscono ai modelli del 1968, ma possono essere utilizzati dal 1964 al 1968)
Adatto a:

Porsche 911 1964-68 SOLO AUTO CON GUIDA A DESTRA
Porsche 912 1964-68 SOLO AUTO CON GUIDA A DESTRA
Sezione altoparlante cruscotto per Porsche 911, modelli 1964-1968 con cruscotti in 2 pezzi. Questo NON è un cruscotto o una copertura per cruscotto, ma una nuova sezione altoparlante sostitutiva per il cruscotto, realizzata secondo le specifiche OEM. Corrisponde al codice Porsche 901.552.021.20 (o 901.552.021.21 per i modelli successivi a febbraio '68).
A causa dell'esposizione al sole, le sezioni degli altoparlanti del cruscotto dei modelli '64-'68 sono in genere sbiadite, strappate, deformate o crepate. I cruscotti in questo stato non possono essere restaurati. In questo caso, consigliamo di installare la nostra nuova sezione di altoparlanti per cruscotto con specifiche OEM per completare il restauro da 100 punti.
L'installazione non richiede attrezzi specifici ed è alla portata di un meccanico di media esperienza. Si prega di notare che l'installazione del cruscotto richiede la rimozione del parabrezza.
Numeri di riferimento correlati
Numeri correlati, sostituiti, riferimenti incrociati o alternativi per il confronto.
91155203202
Il prodotto che stai visualizzando fa riferimento a questi numeri
- Porsche 911 1965-1968 2.0L / 912 SWB (F)
Adatto a:

Porsche 911 1964-68 SOLO AUTO CON GUIDA A DESTRA
Porsche 912 1964-68 SOLO AUTO CON GUIDA A DESTRA
Cruscotto completo per Porsche 911, modelli 1964-1968 con cruscotto in 2 pezzi. NON si tratta di un cruscotto o di una copertura per cruscotto, ma di un cruscotto sostitutivo nuovo, prodotto secondo le specifiche OEM. Corrisponde al codice Porsche 901.552.031.23.
Si prega di notare che la sezione dell'altoparlante anteriore del cruscotto, codice Porsche 901.552.021.20 (o 901.552.021.21 per i modelli successivi a febbraio '68), non è inclusa ma è disponibile separatamente.
A causa dell'esposizione al sole, i cruscotti del '64-'68 presentano in genere ampie crepe al centro. La schiuma cellulare sottostante del cruscotto si è spesso disintegrata, il telaio metallico si è deformato e le viti di montaggio del cruscotto sono arrugginite. I cruscotti in questo stato non sono più restaurabili. In questo caso, consigliamo di installare il nostro nuovo cruscotto con specifiche OEM per completare il restauro completo.
I nostri cruscotti completi con specifiche OEM sono probabilmente i migliori che possiate acquistare in termini di originalità e compatibilità. L'attrezzo per modellare e fondere i cruscotti è stato sviluppato utilizzando la scansione 3D su un cruscotto NOS. La venatura e la lucentezza della superficie in vinile sono state ottimizzate per riprodurre la tipica patina presente sui copriporta e sulle protezioni per le ginocchia dei modelli '65-'68. Tutti i cruscotti sono sottoposti a controlli di qualità su una dima per correggere/controllare i punti di montaggio. Garantiamo un aspetto e una compatibilità autentici, come quelli di fabbrica.
L'installazione non richiede attrezzi specifici ed è alla portata di un meccanico di media esperienza. Si prega di notare che l'installazione del cruscotto richiede la rimozione del parabrezza.
Numeri di riferimento correlati
Numeri correlati, sostituiti, riferimenti incrociati o alternativi per il confronto.
91155203201
Il prodotto che stai visualizzando fa riferimento a questi numeri
- Porsche 911 1965-1968 2.0L / 912 SWB (F)
Adatto a:
Porsche 911 1965-1968 Auto con guida a destra
Diagramma rif. n. 13
Numeri di riferimento correlati
Numeri correlati, sostituiti, riferimenti incrociati o alternativi per il confronto.
PCG55504330
Il prodotto che stai visualizzando fa riferimento a questi numeri
- Porsche 911 1965-1968 2.0L / 912 SWB (F)
- Porsche 911 1968-1973 2.2L / 2.4L / 2.7L RS LWB (F)
Porsche 911 69-73 RHD Guida a destra/Manuale/Coupé
Materiale: feltro Perlon carbone (sale e pepe).
Set completo di tappeti da 16 pezzi per i modelli Porsche 911 e 912 Coupé con passo lungo (LWB), 1969-1973. I nostri set di tappeti realizzati a mano sono tra i migliori che puoi acquistare per originalità e vestibilità. Rispettiamo fedelmente le specifiche dello stabilimento di Stoccarda; dai materiali, ai colori, alle cuciture, alla bordatura, fino ai bottoni e all'imbottitura del tallone.
Per visualizzare le immagini per le opzioni di colore, CLICCA QUI
Il set viene fornito con istruzioni e immagini di installazione passo passo facili da seguire. L'installazione non richiede strumenti specifici ed è comodamente alla portata di un meccanico domestico.
Per le istruzioni di installazione CLICCA QUI
- Porsche 911 1965-1968 2.0L / 912 SWB (F)
- Porsche 911 1968-1973 2.2L / 2.4L / 2.7L RS LWB (F)
Adatto a:
Porsche 911 1969-1973 Auto con guida a sinistra
Porsche 911 1969-1973 Auto con guida a destra
Diagramma rif. n. 13
Numeri di riferimento correlati
Numeri correlati, sostituiti, riferimenti incrociati o alternativi per il confronto.
PCG55504000
Il prodotto che stai visualizzando fa riferimento a questi numeri
- Porsche 911 1965-1968 2.0L / 912 SWB (F)
- Porsche 911 1968-1973 2.2L / 2.4L / 2.7L RS LWB (F)
- Porsche 911 1974-1977 2.7L / 1976-77 3.0 Carrera
- Porsche 911 1978-1983 3.0L / SC
- Porsche 911 1984-1986 3.2L
- Porsche 911 1987-1989 3.2L G50
- Porsche 911 1975-1977 3.0L Turbo (930)
- Porsche 911 1978-1989 3.3L Turbo (930)
- Porsche 964 (911) C2 1989-93
- Porsche 964 (911) C4 1989-93
- Porsche 964 (911) RS 3.6L 1991-93
- Porsche 964 (911) RS 3.8L 1991-93
- Porsche 964 (911) TURBO 3.3L 1991-93
- Porsche 964 (911) TURBO 3.6L 1991-93
- Porsche 993 (911) C2 1994-97
- Porsche 993 (911) C4 1994-97
- Porsche 993 (911) RS 1994-97
- Porsche 993 (911) C2S 1994-97
- Porsche 993 (911) C4S 1994-97
- Porsche 993 (911) TURBO 1994-96
- Porsche 993 (911) GT2 1994-97
- Porsche 993 (911) TURBO S 1994-97
- Porsche 928 4.5L 1978-82
- Porsche 928S 4.7L 1981-83
- Porsche 928S2 4.7L 1984-86
- Porsche 928S4 5.0L 1987-92
- Porsche 928GT 5.0L 1989-91
- Porsche 928GTS 5.4L 1992-95
- Porsche 356 1950-55
- Porsche 356A 1955-59
- Porsche 356B 1959-63
- Porsche 356C 1963-65
Alcuni colori nelle opzioni a discesa potrebbero non essere visibili sotto il prodotto reale perché non tutti i colori e i materiali sono stati utilizzati su tutti i modelli o anni delle Porsche.
Si prega di notare che non tutti i campioni hanno il bordo bordato su di essi e non possiamo garantire che il campione ordinato avrà il bordo bordato.
COLORI DELLA MOQUETTE DEL PAVIMENTO
- Porsche 911 1974-1977 2.7L / 1976-77 3.0 Carrera
- Porsche 911 1978-1983 3.0L / SC
- Porsche 911 1984-1986 3.2L
- Porsche 911 1975-1977 3.0L Turbo (930)
- Porsche 911 1978-1989 3.3L Turbo (930)
Per auto con specchietti regolabili elettricamente. SET DI 2

Adatto a: AUTO con guida a destra
Porsche 911 1975-86 COUPE RHD Auto
Porsche 911 1975-86 TARGA RHD Auto
Fai clic su "Ingrandisci" per il diagramma delle parti di grandi dimensioni.
Diagramma rif. 4
Il tempo di consegna è normalmente di 4-6 settimane su questo prodotto
Numeri di riferimento correlati
Numeri correlati, sostituiti, riferimenti incrociati o alternativi per il confronto.
91155508RHD
Il prodotto che stai visualizzando fa riferimento a questi numeri
- Porsche 911 1965-1968 2.0L / 912 SWB (F)
- Porsche 911 1968-1973 2.2L / 2.4L / 2.7L RS LWB (F)
SET DI 2 Lato sinistro e destro

Pannelli porta completi pronti per l'installazione per tutti i modelli Porsche 911 dal 08/1968 al 1973
Si adatta:
Porsche 911 08/1968-73
- Porsche 911 1965-1968 2.0L / 912 SWB (F)
- Porsche 911 1968-1973 2.2L / 2.4L / 2.7L RS LWB (F)

Si adatta:
Porsche 911 1968-73
Numeri di riferimento correlati
Numeri correlati, sostituiti, riferimenti incrociati o alternativi per il confronto.
90152150199
Il prodotto che stai visualizzando fa riferimento a questi numeri
- Porsche 911 1965-1968 2.0L / 912 SWB (F)
Copri bagagliaio per modelli Porsche 911 Targa "Soft window" 1967-1968. Si tratta di uno splendido copribagagliaio con specifiche OEM adatto per auto originariamente dotate di finestrino morbido o conversioni.
Il nostro copri stivale è tra i migliori disponibili per originalità e vestibilità. Utilizziamo i materiali originali tedeschi che corrispondono esattamente alle specifiche di fabbrica di Stoccarda, tra cui vinile a grana profonda e dispositivi di fissaggio TENAX nichelati con specifiche originali. Tutti i materiali sono tagliati con precisione, incollati a pressione, cuciti e rifiniti sui bordi per garantire una vestibilità autentica di fabbrica.
Il copribagagli può essere consegnato con o senza le chiusure nichelate originali TENAX. Il kit TENAX comprende 12 fissaggi maschio e 12 femmine
Per garantire che il nostro copribagagliaio si adatti perfettamente sia ai finestrini morbidi originali che a quelli sostituiti, gli elementi di fissaggio TENAX non sono preinstallati.
L'installazione è semplice e non richiede strumenti specifici.
Scarica leistruzioni dettagliate per l'installazione .
Il tempo di consegna è normalmente di 14-21 giorni lavorativi per questo prodotto
Numeri di riferimento correlati
Numeri correlati, sostituiti, riferimenti incrociati o alternativi per il confronto.
911561200
Il prodotto che stai visualizzando fa riferimento a questi numeri
- Porsche 911 1965-1968 2.0L / 912 SWB (F)
- Porsche 911 1968-1973 2.2L / 2.4L / 2.7L RS LWB (F)
Si adatta:
Porsche 911 1969-1973 Auto con guida a destra
Fai clic su "Ingrandisci" per il diagramma delle parti di grandi dimensioni.
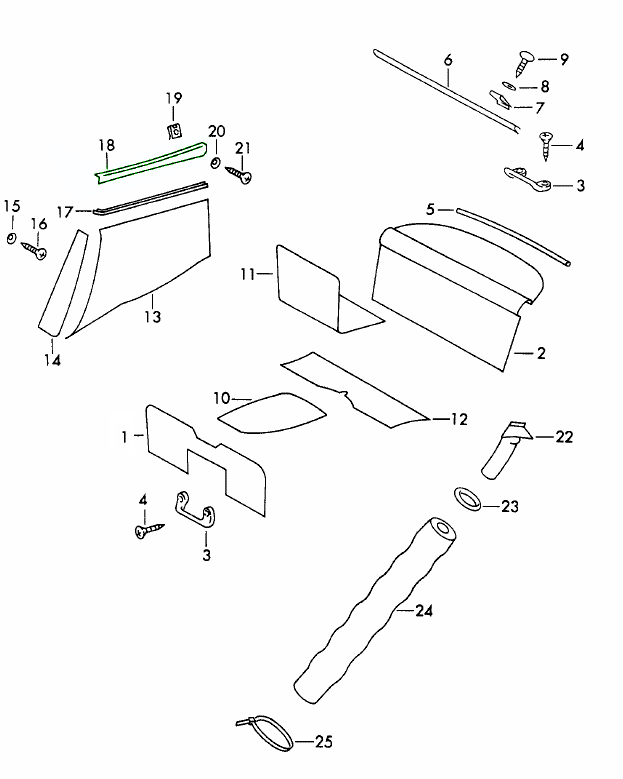
Rif. diagramma n. 1, 2,3,4,9,13,16,20,19,21,27
Numeri di riferimento correlati
Numeri correlati, sostituiti, riferimenti incrociati o alternativi per il confronto.
INTERIORKIT71
Il prodotto che stai visualizzando fa riferimento a questi numeri
Questo kit è composto dai seguenti elementi:
- Porsche 911 1965-1968 2.0L / 912 SWB (F)
- Porsche 911 1968-1973 2.2L / 2.4L / 2.7L RS LWB (F)
Si adatta:
Porsche 911 1969-1973 LHD Auto
Fai clic su "Ingrandisci" per il diagramma delle parti di grandi dimensioni.
Rif. diagramma n. 1, 2,3,4,9,13,16,20,19,21,27
Numeri di riferimento correlati
Numeri correlati, sostituiti, riferimenti incrociati o alternativi per il confronto.
INTERIORKIT70
Il prodotto che stai visualizzando fa riferimento a questi numeri
Questo kit è composto dai seguenti elementi:
- Porsche 911 1965-1968 2.0L / 912 SWB (F)
Adatto a:
Porsche 911 1964-68 COUPE LHD e RHD
Diagramma rif. n. 18
Numeri di riferimento correlati
Numeri correlati, sostituiti, riferimenti incrociati o alternativi per il confronto.
90155509XXX
Il prodotto che stai visualizzando fa riferimento a questi numeri