- Porsche 997 MK1 GT3 2007-09
- Porsche 997 MKII GT3 2010-11
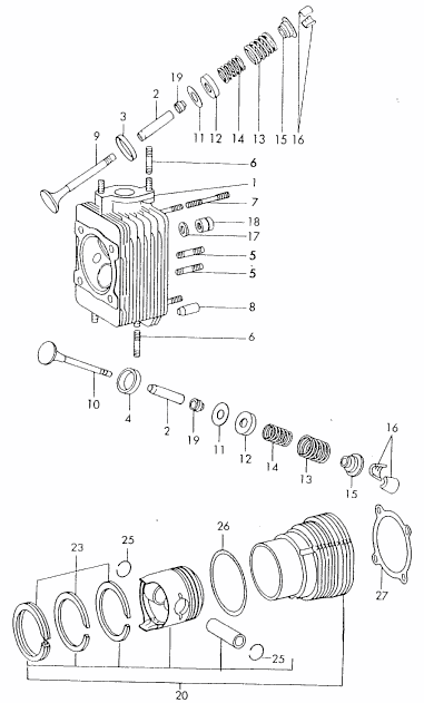
Fits:
Porsche 997 GT3 3.8L M97.77 2007>>2011
Diagram Ref No 2
Related reference numbers
Related, superseded, cross reference or alternative numbers for comparison.
99710337198
The product you are viewing cross references to these numbers

