Enter your VAT number here and click Verify:
Your details have been verified. VAT number registered to:
,
.
Your order will now be zero rated for VAT purposes. We reserve the right to verify these details after your order request has been made and reinstate VAT if required.
Your VAT details were not recognised or were invalid. Your VAT number must be matched to your Billing Country as specified above. This is currently specified as . You do not need to enter the country code part of your VAT number as this has already been selected in your billing address details above.
The VAT number checking service is currently offline. Please supply your VAT details within the comments or special instructions field below and we will apply a VAT discount after placing your order request.
Door Panel
- Porsche 911 1965-1968 2.0L / 912 SWB (F)
- Porsche 911 1968-1973 2.2L / 2.4L / 2.7L RS LWB (F)
- Porsche 911 1974-1977 2.7L / 1976-77 3.0 Carrera
- Porsche 911 1978-1983 3.0L / SC
- Porsche 911 1984-1986 3.2L
- Porsche 911 1987-1989 3.2L G50
- Porsche 911 1975-1977 3.0L Turbo (930)
- Porsche 911 1978-1989 3.3L Turbo (930)
- Porsche 964 (911) C2 1989-93
- Porsche 964 (911) C4 1989-93
- Porsche 964 (911) RS 3.6L 1991-93
- Porsche 964 (911) RS 3.8L 1991-93
- Porsche 964 (911) TURBO 3.3L 1991-93
- Porsche 964 (911) TURBO 3.6L 1991-93
- Porsche 993 (911) C2 1994-97
- Porsche 993 (911) C4 1994-97
- Porsche 993 (911) RS 1994-97
- Porsche 993 (911) C2S 1994-97
- Porsche 993 (911) C4S 1994-97
- Porsche 993 (911) TURBO 1994-96
- Porsche 993 (911) GT2 1994-97
- Porsche 993 (911) TURBO S 1994-97
- Porsche 914 (1970-1976)
- Porsche 912E 4CYL 1976

Fits:
Porsche 911 / 912 - 1965 to 1989
Porsche 964 - 1989 to 1994
Porsche 993 - 1994 to 1997
Porsche 914 - 1970 to 1976
Window Switch Frame Set
Upgrade the door cards of your air-cooled classic with our latest enhancement. OEM metal brackets can be fragile, often getting damaged during switch or upholstery replacements. Our Window Switch Frame Set offers a durable solution, precision-crafted using CNC machining to seamlessly replace the standard OEM frames.
Installation is straightforward and hassle-free, with all necessary tools and screws included in the package, saving you valuable time.
This set is compatible with a range of classic models, including the F/G-model, 912, 914, 964, and 993.
It includes frames for both the driver and passenger sides.
Please note:
Switches are not included.
- Porsche 911 1984-1986 3.2L
- Porsche 911 1987-1989 3.2L G50
- Porsche 911 1978-1989 3.3L Turbo (930)
- Porsche 964 (911) RS 3.6L 1991-93
- Porsche 964 (911) RS 3.8L 1991-93
- Porsche 993 (911) RS 1994-97

Fits:
Porsche 911 - 1984 to 1989
Porsche 964 RS - 1991 to 1993
Porsche 993 RS - 1994 to 1997
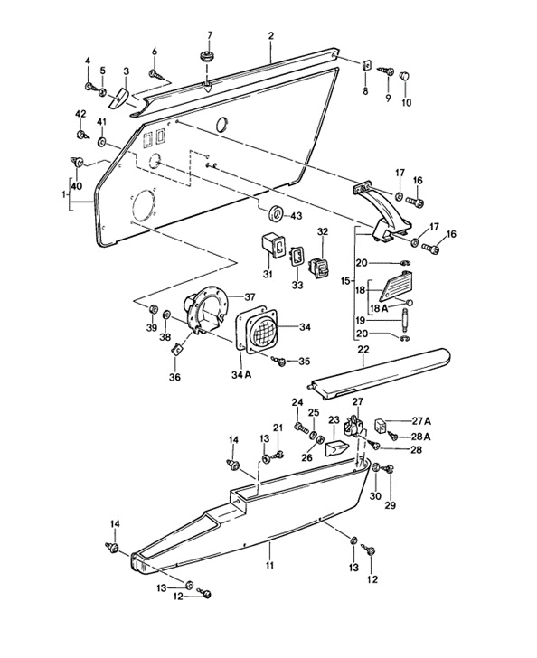
Click 'Zoom in' for large parts diagram.
Diagram ref no 7
Related reference numbers
Related, superseded, cross reference or alternative numbers for comparison.
92855556903
The product you are viewing cross references to these numbers
- Porsche 911 1974-1977 2.7L / 1976-77 3.0 Carrera
- Porsche 911 1978-1983 3.0L / SC
- Porsche 911 1984-1986 3.2L
- Porsche 911 1975-1977 3.0L Turbo (930)
- Porsche 911 1978-1989 3.3L Turbo (930)
For cars with electrically adjustable mirrors.

Fits: LHD CARS
Porsche 911 1975-86 COUPE LHD Cars
Porsche 911 1975-86 TARGA LHD Cars
Click 'Zoom in' for large parts diagram.
Diagram ref no 4
Related reference numbers
Related, superseded, cross reference or alternative numbers for comparison.
91155508
The product you are viewing cross references to these numbers
- Porsche 911 1974-1977 2.7L / 1976-77 3.0 Carrera
- Porsche 911 1978-1983 3.0L / SC
- Porsche 911 1984-1986 3.2L
- Porsche 911 1987-1989 3.2L G50
- Porsche 911 1975-1977 3.0L Turbo (930)
- Porsche 911 1978-1989 3.3L Turbo (930)
- Porsche 964 (911) C2 1989-93
- Porsche 964 (911) C4 1989-93
- Porsche 964 (911) RS 3.6L 1991-93
- Porsche 964 (911) RS 3.8L 1991-93
- Porsche 964 (911) TURBO 3.3L 1991-93
- Porsche 964 (911) TURBO 3.6L 1991-93
- Porsche 993 (911) C2 1994-97
- Porsche 993 (911) C4 1994-97
- Porsche 993 (911) RS 1994-97
- Porsche 993 (911) C2S 1994-97
- Porsche 993 (911) C4S 1994-97
- Porsche 993 (911) TURBO 1994-96
- Porsche 993 (911) GT2 1994-97
- Porsche 993 (911) TURBO S 1994-97
Price is for each.
4 colours available:
- GUARDS RED
- MARITIME BLUE
- SPEED YELLOW
- BLACK
Fits:
Porsche 964 RS 1989-94
Diagram ref no 17.
Related reference numbers
Related, superseded, cross reference or alternative numbers for comparison.
96455583200
The product you are viewing cross references to these numbers
- Porsche 911 1965-1968 2.0L / 912 SWB (F)
- Porsche 911 1968-1973 2.2L / 2.4L / 2.7L RS LWB (F)
- Porsche 911 1974-1977 2.7L / 1976-77 3.0 Carrera
- Porsche 911 1978-1983 3.0L / SC
- Porsche 911 1984-1986 3.2L
- Porsche 911 1987-1989 3.2L G50
- Porsche 911 1975-1977 3.0L Turbo (930)
- Porsche 911 1978-1989 3.3L Turbo (930)
Sold as a pair
Fits:
Porsche 911 - 1965 to 1989
Porsche 964 - 1989 to 1994
For Left Hand Drive (LHD) and Right Hand Drive)
Product Description
Bring the interior of your 911 or 964 to the next level with our Carbon Fiber door cards. Designed from the ground up by our engineers to be the highest quality and most unique full carbon race door cards on the market.
- Hand Laid Carbon
- Aggressive X style emboss
- DIY - Compatible with different configurations ( electric/power windows, speakers, lock knobs etc.)
- Easy to upholster in any material to match your interior
- Complete bolt on solution with all necessary hardware included
- RS door pulls in red nylon
- 1974 onwards interior door handle mechanisms required for use on 1965-73 (see below)
- 1965-'73 cars require retrofit of '74+ interior door handle mechanisms with associated Bowden cables, tension springs, and cable mounting clips. Part numbers and quantities for all necessary parts are below.
Porsche Part Numbers
911 531 083 00 – L and R relay levers
911 531 509 00 – L Bowden cable
911 531 510 00 – R Bowden cable
911 531 097 00 – vertical support (2)
911 531 099 00 – horizontal support (2)
900 145 028 02 – mounting screws (4)
999 507 009 02 – speed nut (4)
993 531 165 00 – tension spring (2)
Related reference numbers
Related, superseded, cross reference or alternative numbers for comparison.
DH56
The product you are viewing cross references to these numbers
- Porsche 911 1974-1977 2.7L / 1976-77 3.0 Carrera
- Porsche 911 1978-1983 3.0L / SC
- Porsche 911 1984-1986 3.2L
- Porsche 911 1987-1989 3.2L G50
- Porsche 911 1975-1977 3.0L Turbo (930)
- Porsche 911 1978-1989 3.3L Turbo (930)
- Porsche 964 (911) C2 1989-93
- Porsche 964 (911) C4 1989-93
- Porsche 964 (911) RS 3.6L 1991-93
- Porsche 964 (911) RS 3.8L 1991-93
- Porsche 964 (911) TURBO 3.3L 1991-93
- Porsche 964 (911) TURBO 3.6L 1991-93
- Porsche 993 (911) C2 1994-97
- Porsche 993 (911) C4 1994-97
- Porsche 993 (911) RS 1994-97
- Porsche 993 (911) C2S 1994-97
- Porsche 993 (911) C4S 1994-97
- Porsche 993 (911) TURBO 1994-96
- Porsche 993 (911) GT2 1994-97
- Porsche 993 (911) TURBO S 1994-97
Price is for a Pair

Replace the plastic cheap looking black door handles with our new alloy door handle, easy to fit and easy to keep clean.
Fits:
Porsche 911 1974-89
Porsche 964 1990-94
Porsche 993 1994-97
Related reference numbers
Related, superseded, cross reference or alternative numbers for comparison.
911680DH993
The product you are viewing cross references to these numbers
- Porsche 911 1974-1977 2.7L / 1976-77 3.0 Carrera
- Porsche 911 1978-1983 3.0L / SC
- Porsche 911 1984-1986 3.2L
- Porsche 911 1987-1989 3.2L G50
- Porsche 911 1975-1977 3.0L Turbo (930)
- Porsche 911 1978-1989 3.3L Turbo (930)
- Porsche 964 (911) C2 1989-93
- Porsche 964 (911) C4 1989-93
- Porsche 964 (911) TURBO 3.3L 1991-93
- Porsche 964 (911) TURBO 3.6L 1991-93
(SET OF 2)

Sold as a Pair Left & Right side
Fits:
Porsche 911 1974-89
Porsche 964
Related reference numbers
Related, superseded, cross reference or alternative numbers for comparison.
91155503128
The product you are viewing cross references to these numbers
- Porsche 911 1974-1977 2.7L / 1976-77 3.0 Carrera
- Porsche 911 1978-1983 3.0L / SC
- Porsche 911 1984-1986 3.2L
- Porsche 911 1987-1989 3.2L G50
- Porsche 911 1975-1977 3.0L Turbo (930)
- Porsche 911 1978-1989 3.3L Turbo (930)
- Porsche 964 (911) C2 1989-93
- Porsche 964 (911) C4 1989-93
- Porsche 964 (911) TURBO 3.3L 1991-93
- Porsche 964 (911) TURBO 3.6L 1991-93

Our door panels are among the best you can buy for originality and fit. Matched to Stuttgart factory specifications step by step; from the finest Scottish hides, colour coded vinyl, vibration deadening foam, water-resistant backing board, top quality calico backing material, exact specification pleat filling, right down to the high resistance yarns we use. All panels are precision cut, stitched and pressure glued to guarantee a factory authentic fit.
To install, simply make openings for the speakers/ accessories and install. Please note that door pockets, arm rest, door panel clips or other panel hardware are not included.
Because of fading of the original material and colour differences between dye lots, we offer the door panels in Black only.
Sold as a Pair Left & Right side
Fits:
Porsche 911 1974-89
Porsche 964
Related reference numbers
Related, superseded, cross reference or alternative numbers for comparison.
90155503BLKVN
The product you are viewing cross references to these numbers
- Porsche 911 1974-1977 2.7L / 1976-77 3.0 Carrera
- Porsche 911 1978-1983 3.0L / SC
- Porsche 911 1984-1986 3.2L
- Porsche 911 1975-1977 3.0L Turbo (930)
- Porsche 911 1978-1989 3.3L Turbo (930)
For cars with electrically adjustable mirrors. SET OF 2
Fits: LHD CARS
Porsche 911 1975-86 COUPE LHD Cars
Porsche 911 1975-86 TARGA LHD Cars
Diagram ref no 4
Related reference numbers
Related, superseded, cross reference or alternative numbers for comparison.
91155508XXZ
The product you are viewing cross references to these numbers
- Porsche 911 1974-1977 2.7L / 1976-77 3.0 Carrera
- Porsche 911 1978-1983 3.0L / SC
- Porsche 911 1984-1986 3.2L
- Porsche 911 1975-1977 3.0L Turbo (930)
- Porsche 911 1978-1989 3.3L Turbo (930)
For cars with electrically adjustable mirrors. SET OF 2

Fits: LHD CARS
Porsche 911 1975-86 COUPE LHD Cars
Porsche 911 1975-86 TARGA LHD Cars
Click 'Zoom in' for large parts diagram.
Diagram ref no 4
Related reference numbers
Related, superseded, cross reference or alternative numbers for comparison.
91155508LHD
The product you are viewing cross references to these numbers
- Porsche 911 1974-1977 2.7L / 1976-77 3.0 Carrera
- Porsche 911 1978-1983 3.0L / SC
- Porsche 911 1984-1986 3.2L
- Porsche 911 1975-1977 3.0L Turbo (930)
- Porsche 911 1978-1989 3.3L Turbo (930)
For cars with electrically adjustable mirrors. SET OF 2

Fits: RHD CARS
Porsche 911 1975-86 COUPE RHD Cars
Porsche 911 1975-86 TARGA RHD Cars
Click 'Zoom in' for large parts diagram.
Diagram ref no 4
Delivery Time is Normally 4 - 6 weeks on this product
Related reference numbers
Related, superseded, cross reference or alternative numbers for comparison.
91155508RHD
The product you are viewing cross references to these numbers
- Porsche 911 1974-1977 2.7L / 1976-77 3.0 Carrera
- Porsche 911 1978-1983 3.0L / SC
- Porsche 911 1984-1986 3.2L
- Porsche 911 1987-1989 3.2L G50
- Porsche 911 1975-1977 3.0L Turbo (930)
- Porsche 911 1978-1989 3.3L Turbo (930)
- Porsche 964 (911) C2 1989-93
- Porsche 964 (911) C4 1989-93
- Porsche 964 (911) RS 3.6L 1991-93
- Porsche 964 (911) RS 3.8L 1991-93
- Porsche 964 (911) TURBO 3.3L 1991-93
- Porsche 964 (911) TURBO 3.6L 1991-93
- Porsche 993 (911) C2 1994-97
- Porsche 993 (911) C4 1994-97
- Porsche 993 (911) RS 1994-97
- Porsche 993 (911) C2S 1994-97
- Porsche 993 (911) C4S 1994-97
- Porsche 993 (911) TURBO 1994-96
- Porsche 993 (911) GT2 1994-97
- Porsche 993 (911) TURBO S 1994-97
SOLD AS A PAIR OF 2
Fits:
Porsche 911
Are your RS door panels in need of a bit more polish and finish. Our CNC Aluminium door pull trim set replaces the cheap plastic versions that have been available to date. Your Porsche build deserves the finish delivered by these.
Note: if you opt for custom colour of leather and stitching please leave a comment at the checkout stage stating what are your requirements
Please note: This part is on special order terms. Delivery time is normally 8-10 weeks. It is not a subject to cancellation or return if not required.
Related reference numbers
Related, superseded, cross reference or alternative numbers for comparison.
AKRSPULL
The product you are viewing cross references to these numbers
- Porsche 911 1978-1983 3.0L / SC
- Porsche 911 1984-1986 3.2L
- Porsche 911 1987-1989 3.2L G50
- Porsche 911 1978-1989 3.3L Turbo (930)

Fits:
Porsche 911 1983-89
Click 'Zoom in' for large parts diagram.
Diagram ref no 34
Related reference numbers
Related, superseded, cross reference or alternative numbers for comparison.
91155501301
The product you are viewing cross references to these numbers
- Porsche 911 1987-1989 3.2L G50
- Porsche 911 1978-1989 3.3L Turbo (930)
- Porsche 964 (911) C2 1989-93
- Porsche 964 (911) C4 1989-93
- Porsche 964 (911) RS 3.6L 1991-93
- Porsche 964 (911) RS 3.8L 1991-93
- Porsche 964 (911) TURBO 3.3L 1991-93
- Porsche 964 (911) TURBO 3.6L 1991-93
Fits:
Porsche 911 1988-1989
Porsche 964 1989-1994
Diagram ref no 18
Related reference numbers
Related, superseded, cross reference or alternative numbers for comparison.
91155545301
The product you are viewing cross references to these numbers
- Porsche 911 1987-1989 3.2L G50
- Porsche 911 1978-1989 3.3L Turbo (930)
- Porsche 964 (911) C2 1989-93
- Porsche 964 (911) C4 1989-93
- Porsche 964 (911) RS 3.6L 1991-93
- Porsche 964 (911) RS 3.8L 1991-93
- Porsche 964 (911) TURBO 3.3L 1991-93
- Porsche 964 (911) TURBO 3.6L 1991-93
- Porsche 993 (911) C2 1994-97
- Porsche 993 (911) C4 1994-97
- Porsche 993 (911) RS 1994-97
- Porsche 993 (911) C2S 1994-97
- Porsche 993 (911) C4S 1994-97
- Porsche 993 (911) TURBO 1994-96
- Porsche 993 (911) GT2 1994-97
- Porsche 993 (911) TURBO S 1994-97
Fits:
Porsche 911 1988-1989
Porsche 964 1989-1994
Porsche 993 1994-1998 - cars without M490 sound package
Diagram ref no 13
Related reference numbers
Related, superseded, cross reference or alternative numbers for comparison.
91155545101
The product you are viewing cross references to these numbers
- Porsche 911 1978-1983 3.0L / SC
- Porsche 911 1984-1986 3.2L
- Porsche 911 1987-1989 3.2L G50
- Porsche 911 1978-1989 3.3L Turbo (930)

Fits:
Porsche 911 1983-89
Click 'Zoom in' for large parts diagram.
Diagram ref no 34
Related reference numbers
Related, superseded, cross reference or alternative numbers for comparison.
91155501301
The product you are viewing cross references to these numbers
Porsche Interior Door Panels | Premium Craftsmanship & Authentic Fitment
Interior door panels are an essential part of your Porsche’s cabin design — blending style, comfort, and function. They provide structure to the door assembly, house handles and switches, and contribute to sound insulation and aesthetic refinement. Over time, these panels can wear, fade, or warp, making replacement the key to restoring your Porsche’s luxury interior.
At Design911, we supply high-quality interior door panels designed to meet or surpass original specifications for precision and finish. Constructed from premium materials including leather, Alcantara, and durable composites, our panels ensure perfect alignment, refined textures, and a seamless match to your Porsche’s interior design.
Whether you’re restoring a classic 911, refurbishing a Cayman, or upgrading a modern model, our door panels deliver performance, authenticity, and timeless appeal.
What Do Interior Door Panels Do?
Door panels are more than decorative — they serve both practical and comfort-enhancing roles inside your Porsche.
Core Functions:
- Provide structure and housing for handles, switches, and window controls.
- Improve acoustic insulation and cabin comfort.
- Enhance aesthetic harmony throughout the interior.
- Protect wiring, window mechanisms, and locking systems.
- Support airbag deployment areas (where applicable).
A well-maintained door panel ensures a quiet, comfortable, and visually cohesive driving experience.
Why Do Door Panels Wear or Fail?
Even with Porsche’s craftsmanship, interior door panels experience wear and stress over years of use.
Common Causes of Damage Include:
- Fading and cracking from UV exposure.
- Delamination of leather, vinyl, or fabric surfaces.
- Broken clips or warped substrates causing misalignment.
- Moisture ingress leading to swelling or adhesive failure.
- Scuffs, tears, and general wear from regular use.
When damaged, panels can creak, loosen, or spoil the cabin’s luxury finish — making replacement essential for both comfort and value.
Why Replace or Upgrade Your Porsche Door Panels?
Replacing worn or damaged door panels restores the original elegance and integrity of your Porsche’s interior. High-quality replacements ensure a perfect fit, correct alignment, and long-lasting materials for years of driving enjoyment.
Key Benefits:
- Restores interior aesthetics and tactile quality.
- Eliminates rattles, looseness, and worn-out fittings.
- Ensures proper fitment of switches, handles, and trims.
- Available in multiple finishes and materials.
- Compatible with Porsche 911, Cayman, Boxster, Panamera, Macan, and Cayenne models.
- Ideal for restorations, refurbishments, or interior customisation.
Upgrading your panels can also personalise your interior with new colours or premium finishes while maintaining Porsche design precision.
Highlights
- Precision-engineered Porsche interior door panels.
- Crafted from durable, premium-grade materials.
- UV-resistant and moisture-protected construction.
- Direct-fit replacements for worn or damaged panels.
- Designed for restoration, repair, or aesthetic enhancement.
- Elevates the interior look, comfort, and resale value.