Oliekoelers / radiatoren / warmtewisselaars
- Porsche 911 1968-1973 2.2L / 2.4L / 2.7L RS LWB (F)
- Porsche 911 1974-1977 2.7L / 1976-77 3.0 Carrera
- Porsche 911 1978-1983 3.0L / SC
- Porsche 911 1984-1986 3.2L
- Porsche 911 1987-1989 3.2L G50
- Porsche 911 1975-1977 3.0L Turbo (930)
- Porsche 911 1978-1989 3.3L Turbo (930)
Type radiateur past in motorruimte.

Past bij:
Porsche 911 1972-89
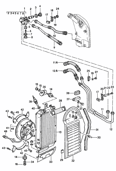
Klik op 'Inzoomen' voor een groot onderdelenschema.
Diagram ref. nr. 8.
Gerelateerde referentienummers
Gerelateerde, vervangen, kruisverwijzingen of alternatieve nummers ter vergelijking.
91110704102
Het product dat u bekijkt, verwijst naar deze nummers
- Porsche 911 1978-1983 3.0L / SC
- Porsche 911 1984-1986 3.2L
- Porsche 911 1987-1989 3.2L G50
- Porsche 911 1978-1989 3.3L Turbo (930)
Past op:
Porsche 911 3.2L / 3.0L 1980-89
Porsche 911 3.3L turbo 1980-89
Wanneer u de koeler aan uw mandje toevoegt, heeft u de mogelijkheid om een temperatuursensor of een afsluitplug (en ring) te selecteren
Voeg deze toe indien nodig. De koeler wordt niet met een van de twee meegeleverde opties geleverd.
Diagram Ref.nr. 13
Gerelateerde referentienummers
Gerelateerde, vervangen, kruisverwijzingen of alternatieve nummers ter vergelijking.
93020705304
Het product dat u bekijkt, verwijst naar deze nummers
- Porsche 911 1984-1986 3.2L
- Porsche 911 1987-1989 3.2L G50
- Porsche 911 1975-1977 3.0L Turbo (930)
- Porsche 911 1978-1989 3.3L Turbo (930)

Past op:
Porsche 911 1984-89
Diagram Ref. Nr. 33.
Gerelateerde referentienummers
Gerelateerde, vervangen, kruisverwijzingen of alternatieve nummers ter vergelijking.
93020712100
Het product dat u bekijkt, verwijst naar deze nummers
- Porsche 911 1984-1986 3.2L
- Porsche 911 1987-1989 3.2L G50

Past bij:
Porsche 911 1984-89
Klik op 'Inzoomen' voor een groot onderdelenschema.
Schema ref. nr. 32
Gerelateerde referentienummers
Gerelateerde, vervangen, kruisverwijzingen of alternatieve nummers ter vergelijking.
93020731915
Het product dat u bekijkt, verwijst naar deze nummers
- Porsche 911 1968-1973 2.2L / 2.4L / 2.7L RS LWB (F)
- Porsche 911 1974-1977 2.7L / 1976-77 3.0 Carrera
- Porsche 911 1978-1983 3.0L / SC
- Porsche 911 1984-1986 3.2L
- Porsche 911 1987-1989 3.2L G50
- Porsche 911 1975-1977 3.0L Turbo (930)
- Porsche 911 1978-1989 3.3L Turbo (930)
OEM+ / High-Performance recreatie van de originele Behr oliekoeler
CNC-gefreesde montageplaat met helixontwerp voor stevigheid en voorzien van uitsparingen voor gewichtsbesparing
Moderne Tube & Fin-kern met lagere drukval en hogere warmteafvoer dan het origineel
RVS-fittingen voor de late modellen met slip-on-stijl (72-89) en vroege modellen met schroefdraad (65-71) met verbeterd M30 “Widemouth”-ontwerp voor verbeterde doorstroming
Alle OEM Behr-functies zijn gerepliceerd op de billetmontageplaat en de koelerbehuizing
Standaard geleverd met moderne Cerakote titanium afwerking (extra warmteafvoer) – moderne interpretatie van de OEM Behr afwerking
Geoptimaliseerde ID- en stromingseigenschappen van de olieleiding voor maximale oliestroom door het oliesysteem van het voertuig
Volledig in te bouwen, absoluut geen aanpassingen nodig voor de installatie
Porsche 911 - 1972 tot 1989
Porsche 911 turbo - 1975 tot 1989
Diagram Ref.nr. 8
Na meer dan 2 jaar ontwikkeling en 4 prototyperondes werd de wereldpremière van de CSF Porsche 911/930 motoroliekoeler op Rennsport Reunion 2023 met overweldigend enthousiasme ontvangen. Liefhebbers van luchtkoeling kennen de problemen die gepaard gaan met de oliekoeler op het motorblok van de oude zescilindermotor. De langverwachte nieuwe versie van CSF is misschien wel de belangrijkste moderne motorupgrade voor de 911 in jaren.
Hoewel het oorspronkelijke ontwerp destijds effectief was, zijn ze niet goed verouderd. Bovendien zijn er geen updates aan het ontwerp geweest en zijn originele vervangende units moeilijk te vinden. Toen de CSF 911 in aanbouw was, realiseerde CSF zich dat dit een broodnodig onderdeel was voor de luchtgekoelde gemeenschap en besloot iets bijzonders te ontwerpen.
De oude originele koelers zijn echter niet het enige probleem. CSF heeft veel meldingen uit de eerste hand ontvangen van gloednieuwe OE-koelers uit Porsche's vernieuwde "Porsche Classic"-catalogus die binnen enkele maanden na installatie lekten. Blijkbaar zijn de nieuwe onderdelen van Porsche niet zo goed gebouwd als de originele Behr-koelers. CSF heeft nu een moderne OEM+-oplossing voor dit vintage ontwerp op de markt gebracht.
De high-performance kern maakt gebruik van 7 koelbuizen met 8 rijen vinnen. Dankzij het ultra-efficiënte vinontwerp en de hoge doorstromingsbuizen is de CSF-koeler ~10% efficiënter dan een gloednieuwe OE-unit en tot 25% efficiënter dan een gebruikte unit.
Omdat de bodemplaat van de koeler ook een veelvoorkomend probleemgebied is, heeft CSF geprobeerd dit gebied zoveel mogelijk te verbeteren. In plaats van het originele gegoten ontwerp maakt de CSF-koeler gebruik van een CNC-gefreesde aluminium plaat. Dit biedt een perfect vlak montageoppervlak dat zowel sterker is als beter bestand tegen kromtrekken na verloop van tijd. Je zult ook het speciale helixontwerp opmerken dat de stevigheid vergroot en tegelijkertijd het gewicht minimaliseert.
Elke unit wordt individueel getest op lekkage en druk, met 10 jaar garantie
Nieuwe OEM-koelers van Porsche zijn extreem schaars/moeilijk te verkrijgen en kosten meer dan $ 1.300
Gerelateerde referentienummers
Gerelateerde, vervangen, kruisverwijzingen of alternatieve nummers ter vergelijking.
91110704102
Het product dat u bekijkt, verwijst naar deze nummers
- Porsche 911 1978-1983 3.0L / SC
- Porsche 911 1984-1986 3.2L
- Porsche 911 1987-1989 3.2L G50
- Porsche 911 1975-1977 3.0L Turbo (930)
- Porsche 911 1978-1989 3.3L Turbo (930)
Hoogwaardige kerntechnologie
50mm kern versus OEM 45mm
15 rijen turbulente buizen, 16 rijen vinnen (zelfde als OEM-specificatie)
Innovatief ontwerp met vierkante vinnen (sterker, betere prestaties, minder verstopping)
~10% betere prestaties (getest in windtunnel)
Geen toename van de drukval
Past op:
Porsche 911 3.2L / 3.0L 1984-89 - Direct Fit
Porsche 930 3.3L - Direct Fit
Porsche 911 / 930 1965 - 1983 Retrofit mogelijk
Diagram Ref.nr. 13
Kruisverwijzingsnummers
93020705302, 93020705304
CSF kondigt met trots de lancering aan van de langverwachte oliekoeler voor de rechterspatbord van de Porsche 911/930 Turbo. Deze nieuwe release van CSF brengt OEM tier-1-kwaliteit, innovatieve functies en waarde naar de vervangings- en prestatie-aftermarket van het platform (vervangt direct OEM-onderdeelnummers 930 207 053 02 en 930 207 053 04).
Een close-up van de hoogwaardige CSF-kern vergeleken met een meer dan 35 jaar oude oliekoeler die hij vervangt. De CSF-kern heeft een innovatief ontwerp met vierkante vinnetjes dat verstopping helpt voorkomen. Het verbetert ook de prestaties en sterkte dankzij het grotere contactoppervlak met de buizen.
M30 x 1,5 High-Flow-fittingen
OEM-stijl, intern bewerkt
17,5 mm binnendiameter "Widemouth"-ontwerp versus 14,5 mm binnendiameter van de OEM-fittingen
Roestvrij staal met koperen drukring voor verhoogde sterkte en duurzaamheid in vergelijking met OEM-zacht staal
Dieper duiken voor meer volume
50% grotere doorstromingscapaciteit voor maximale prestaties
Vergelijking tussen de CSF-fittingen met hoge doorstroming en een 17,5 mm ID-ontwerp met brede opening en het OEM-ontwerp met 14,5 mm ID
M22 x 1,5 inlaat-/uitlaataansluitingen
Interne straal voor maximale doorstroming
Geoptimaliseerd om ook AN-16-aansluitingen te accepteren voor meer veelzijdigheid en configuratiemogelijkheden
De M22 x 1,5 inlaat-/uitlaataansluitingen van CSF zijn voorzien van verbeterde interne radiusaansluitingen voor maximale oliestroom in en uit de oliekoeler.
Temperatuurzender combinatie montagenok
Drie fittingen inbegrepen
Schroefplug (voor gebruik zonder ventilator)
M14 x 1.5P-adapter (voor gebruik met OEM-ventilator)
3/8-18 NPTF-adapter (voor gebruik met SPAL/moderne ventilator)
1/2-14 NPTF-ontwerp voor de drie meegeleverde fittingen
Gerelateerde referentienummers
Gerelateerde, vervangen, kruisverwijzingen of alternatieve nummers ter vergelijking.
93020705304
Het product dat u bekijkt, verwijst naar deze nummers
- Porsche 911 1984-1986 3.2L
- Porsche 911 1987-1989 3.2L G50
- Porsche 911 1975-1977 3.0L Turbo (930)
- Porsche 911 1978-1989 3.3L Turbo (930)
De Porsche 93020723900 / 93020723901 / 93020723902 Bonded Rubber Buffers zijn originele onderdelen die ontworpen zijn voor de montage en stabilisatie van de oliekoeler in luchtgekoelde Porsche 911- en Turbo-modellen. Elke bevestiging is gemaakt van een nauwkeurig verlijmd rubber- en staalontwerp dat trillingen isoleert en motorbewegingen absorbeert, waardoor de oliekoeler en de bijbehorende leidingen worden beschermd tegen spanning en schade.
Afzonderlijk verkocht , 3 per auto vereist
Past op:
Porsche 911 1984 - 1989
Diagram Ref. Nr. 14.
Deze buffers, die zich tussen de oliekoelerbehuizing en het chassis of de motorsteun bevinden, spelen een essentiële rol bij het handhaven van een correcte uitlijning en het verminderen van trillingen in het koelsysteem. Na verloop van tijd kan blootstelling aan hitte, olie en trillingen ervoor zorgen dat het rubber verhardt of scheurt. Vervanging door originele Porsche-onderdelen herstelt de fabrieksstabiliteit, trillingsisolatie en betrouwbaarheid op lange termijn.
Gerelateerde referentienummers
Gerelateerde, vervangen, kruisverwijzingen of alternatieve nummers ter vergelijking.
93020723902
Het product dat u bekijkt, verwijst naar deze nummers
- Porsche 911 1984-1986 3.2L
- Porsche 911 1987-1989 3.2L G50
- Porsche 911 1975-1977 3.0L Turbo (930)
- Porsche 911 1978-1989 3.3L Turbo (930)
Deze vervangende buffer is een hoogwaardige vervanging voor de fabrieksmatig gelijmde rubberen steunen die worden gebruikt ter ondersteuning van de oliekoeler in luchtgekoelde Porsche-motoren. Het helpt trillingen te isoleren, de juiste uitlijning te behouden en de koeler en de bijbehorende hardware te beschermen.
Per stuk verkocht , 3 per auto nodig.
Past op:
Porsche 911 1984 - 1989
Diagram Ref. Nr. 14.
Dit is een rubberen buffer of bevestiging (vaak verbonden met metalen inzetstukken) die wordt gebruikt om de oliekoeler te dempen en te fixeren ten opzichte van de motor of het chassis. Het absorbeert trillingen, voorkomt metaal-op-metaalcontact en houdt de koeler in de juiste positie. Het helpt spanningen op de beugels, leidingen en contactvlakken van de oliekoeler te voorkomen door een flexibel montagepunt te bieden.
Vervangt: Porsche 930.207.239.00 / 930.207.239.01 / 930.207.239.02
Positie: Tussen oliekoeler en motor- of chassisbevestiging — isoleert trillingen en ondersteunt de uitlijning
Functie: Absorbeert trillingen en motorbewegingen, voorkomt spanning op oliekoelerleidingen en beugels
Installatie: Direct passende OE-vervanging — installeer als set voor de beste resultaten
Onderhoudstip: Vervang het rubber wanneer het hard wordt, scheurt of loslaat van de metalen behuizing.
Na verloop van tijd degradeert het rubber in de bufferbevestiging door hitte, blootstelling aan olie, ozon, trillingen en vermoeidheid. Het kan verharden, scheuren, krimpen of loskomen van het verlijmde metalen inzetstuk. Een defecte bevestiging zorgt ervoor dat de oliekoeler meer verschuift of trilt dan gepland, waardoor de slangen, beugels en montageflenzen van de koeler onder druk komen te staan, wat kan leiden tot lekkages of schade. Overmatige trillingen kunnen leiden tot lawaai, verkeerde uitlijning of vroegtijdige vermoeidheid van ondersteunende onderdelen. Vervang deze buffer wanneer u schade of slijtage constateert, bij het verwijderen of onderhouden van de oliekoeler, of als preventief onderhoud aan motoren met een hoge kilometerstand.
Gerelateerde referentienummers
Gerelateerde, vervangen, kruisverwijzingen of alternatieve nummers ter vergelijking.
93020723902
Het product dat u bekijkt, verwijst naar deze nummers
- Porsche 911 1984-1986 3.2L
- Porsche 911 1987-1989 3.2L G50
- Porsche 911 1975-1977 3.0L Turbo (930)
- Porsche 911 1978-1989 3.3L Turbo (930)

Past bij:
Porsche 911 1984-89
Klik op 'Inzoomen' voor een groot onderdelenschema.
Schema ref. nr. 31.
Gerelateerde referentienummers
Gerelateerde, vervangen, kruisverwijzingen of alternatieve nummers ter vergelijking.
93020735300
Het product dat u bekijkt, verwijst naar deze nummers
- Porsche 911 1978-1983 3.0L / SC
- Porsche 911 1984-1986 3.2L
- Porsche 911 1987-1989 3.2L G50
- Porsche 911 1978-1989 3.3L Turbo (930)

Past bij:
Porsche 911 1980>>
Klik op 'Inzoomen' voor een groot onderdelenschema.
Diagram ref. nr. 13D
Gerelateerde referentienummers
Gerelateerde, vervangen, kruisverwijzingen of alternatieve nummers ter vergelijking.
PCG91002202
Het product dat u bekijkt, verwijst naar deze nummers
- Porsche 911 1974-1977 2.7L / 1976-77 3.0 Carrera
- Porsche 911 1978-1983 3.0L / SC
- Porsche 911 1984-1986 3.2L
- Porsche 911 1987-1989 3.2L G50
- Porsche 911 1975-1977 3.0L Turbo (930)
- Porsche 911 1978-1989 3.3L Turbo (930)

Past bij:
Porsche 911 1980>>
Klik op 'Inzoomen' voor een groot onderdelenschema.
Diagram ref. nr. 13C
Gerelateerde referentienummers
Gerelateerde, vervangen, kruisverwijzingen of alternatieve nummers ter vergelijking.
90002500703
Het product dat u bekijkt, verwijst naar deze nummers
- Porsche 911 1978-1983 3.0L / SC
- Porsche 911 1984-1986 3.2L
- Porsche 911 1987-1989 3.2L G50
- Porsche 911 1978-1989 3.3L Turbo (930)

Past bij:
Porsche 911 1978-89
Klik op 'Inzoomen' voor een groot onderdelenschema.
Diagram ref. nr. 13B
Gerelateerde referentienummers
Gerelateerde, vervangen, kruisverwijzingen of alternatieve nummers ter vergelijking.
99970326300
Het product dat u bekijkt, verwijst naar deze nummers
- Porsche 911 1978-1983 3.0L / SC
- Porsche 911 1984-1986 3.2L
- Porsche 911 1987-1989 3.2L G50
- Porsche 911 1978-1989 3.3L Turbo (930)

Past op:
Porsche 911 1978-89
Klik op 'Inzoomen' voor een diagram met grotere onderdelen.
Diagram ref nr. 13B
Gerelateerde referentienummers
Gerelateerde, vervangen, kruisverwijzingen of alternatieve nummers ter vergelijking.
99970326300
Het product dat u bekijkt, verwijst naar deze nummers
- Porsche 911 1984-1986 3.2L
- Porsche 911 1987-1989 3.2L G50
- Porsche 911 1975-1977 3.0L Turbo (930)
- Porsche 911 1978-1989 3.3L Turbo (930)

Past bij:
Porsche 911 1984-89
Klik op 'Inzoomen' voor een groot onderdelenschema.
Diagram ref. nr. 28.
Gerelateerde referentienummers
Gerelateerde, vervangen, kruisverwijzingen of alternatieve nummers ter vergelijking.
93020736100
Het product dat u bekijkt, verwijst naar deze nummers
- Porsche 911 1978-1983 3.0L / SC
- Porsche 911 1984-1986 3.2L
- Porsche 911 1987-1989 3.2L G50
- Porsche 911 1978-1989 3.3L Turbo (930)
Past op:
Porsche 911 3.2L / 3.0L 1980-89
Porsche 911 3.3L turbo 1980-89
Wanneer u de koeler aan uw mandje toevoegt, heeft u de mogelijkheid om een temperatuursensor of een afsluitplug (en ring) te selecteren
Voeg deze toe indien nodig. De koeler wordt niet met een van de twee meegeleverde opties geleverd.
Diagram Ref.nr. 13
Gerelateerde referentienummers
Gerelateerde, vervangen, kruisverwijzingen of alternatieve nummers ter vergelijking.
93020705304
Het product dat u bekijkt, verwijst naar deze nummers
- Porsche 911 1978-1983 3.0L / SC
- Porsche 911 1984-1986 3.2L
- Porsche 911 1987-1989 3.2L G50

Past bij:
Porsche 911 1974-89
Klik op 'Inzoomen' voor een groot onderdelenschema.
Diagram ref. nr. 22.
Gerelateerde referentienummers
Gerelateerde, vervangen, kruisverwijzingen of alternatieve nummers ter vergelijking.
91110723300
Het product dat u bekijkt, verwijst naar deze nummers
-
Carter links 911 1984-86 101-05
-
Carter rechts 911 1984-86 101-10
-
Motorsmeeroliepompleidingen 911 1984-86 104-00
-
motorsmering oliekoeler 911 1984-86 104-05
-
Gasklephuis steun 911 1984-86 107-12
-
Inlaatluchtkoeler 911 1984-86 107-45
-
Luchtinjectie 911 CARRERA 930.26 (AUS) (CH) (S) 1984-86 108-00
-
versnellingsbakhuis, transmissiedeksel 911 1984-86 302-05
-
transmissieophanging 911 1984-86 306-00
-
vooras stabilisator 911 1984-86 401-00
-
transmissieregeling 911 1984-86 701-00
-
pedalen gaspedaalbediening 911 1984-86 702-10
-
opklapbare hoofdbeugel, dakframe, losse onderdelen 911 1984-86 811-12
-
buitenbekleding voorzijde 911 1984-86 801-30
-
bumper voorzijde 911 1984-86 802-00
-
bumper achter 911 1984-86 802-05
-
deksel voorzijde 911 1984-86 803-00
-
deksel achter 911 1984-86 803-05
-
Deurruitframe 911 COUPE 1984-86 804-15
-
Compressor montage en aandrijfmechanisme 911 1984-86 813-20
-
condensor koudemiddelleiding accessoires en andere voorzijde 911 1984-86 813-45
-
interieuruitrusting achter 911 1984-86 CABRIO 807-07
-
stoelframe handmatig verstelbaar 911 CARRERA vanaf 1985 808-26
-
elektrische motor - 2 - 911 CARRERA 1984-86 901-02
-
accu, starter, generator 911 1984-86 902-05
Motoroliekoelers, radiatoren en warmtewisselaars – Precisiekoeling voor Porsche-prestaties
De motoroliekoeler en het warmtewisselaarsysteem spelen een cruciale rol bij het beheersen van de temperatuur in de motor van uw Porsche. Door overtollige warmte van de olie en andere vloeistoffen af te voeren, zorgen deze componenten voor stabiele bedrijfstemperaturen, consistente smering en een maximale levensduur van de motor – vooral onder veeleisende omstandigheden.
Bij Design911 bieden we een compleet assortiment motoroliekoelers, radiatoren en warmtewisselaars voor zowel oude als nieuwe Porsche-modellen. Deze componenten zijn gemaakt van zeer efficiënt aluminium of versterkte composietmaterialen en zijn ontworpen voor superieure koelprestaties, duurzaamheid en een perfecte pasvorm. Zo presteert uw Porsche optimaal, zowel op de weg als op het circuit.
Of u nu een versleten unit vervangt of een upgrade uitvoert voor een betere thermische efficiëntie, onze oliekoelcomponenten zorgen voor betrouwbare temperatuurregeling en verbeterde prestaties.
Wat doen motoroliekoelers, radiatoren en warmtewisselaars?
Deze onderdelen regelen de olie- en motortemperatuur om optimale prestaties te behouden en oververhitting te voorkomen.
Kernfuncties:
- Voer overtollige warmte van de motorolie, koelvloeistof of transmissievloeistof af.
- Zorg voor een consistente viscositeit van de olie en voorkom defecten onder belasting.
- Bescherm interne motoronderdelen tegen hittegerelateerde slijtage en storingen.
- Verbeter de algehele prestatie-efficiëntie tijdens langere ritten of circuitsessies.
De oliekoeler, radiator en warmtewisselaar vormen samen een essentieel thermisch managementsysteem dat ervoor zorgt dat uw Porsche optimaal presteert en tegelijkertijd belangrijke componenten beschermt.
Waarom gaan oliekoelers en warmtewisselaars kapot?
Na verloop van tijd kunnen blootstelling aan hittecycli, trillingen en verontreinigingen leiden tot verlies van efficiëntie of zelfs tot een volledig falen.
Veelvoorkomende oorzaken van storingen zijn:
- Corrosie of scheuren door veroudering of door inwerking van vuil op de weg.
- Interne verstopping veroorzaakt door slib of verontreinigde olie.
- Lekkende afdichtingen of fittingen , waardoor de druk en vloeistofefficiëntie afnemen.
- Thermische vermoeidheid , wat leidt tot verminderde koelcapaciteit.
- Slecht onderhoud of verwaarlozing van de koelvloeistof versnellen de achteruitgang.
Symptomen van een defect kunnen zijn: hoge olietemperaturen, olielekken, verontreiniging van de koelvloeistof of verminderde motorprestaties. Dit zijn allemaal signalen dat er een inspectie of vervanging nodig is.
Waarom moeten oliekoelcomponenten vervangen worden?
Het vervangen van een versleten of lekkende oliekoeler, radiator of warmtewisselaar is essentieel om de smeerkwaliteit te behouden en kostbare schade door oververhitting te voorkomen. Onze nauwkeurig passende, zeer duurzame componenten herstellen de juiste koelbalans en betrouwbaarheid onder alle omstandigheden.
Belangrijkste voordelen:
- Herstelt de efficiënte regeling van olie- en vloeistoftemperatuur.
- Voorkomt oververhitting en slijtage van de motor.
- Verbetert de betrouwbaarheid bij zware belasting of gebruik op het spoor.
- Gemaakt van corrosiebestendige, hoogwaardige materialen.
- Direct te monteren op klassieke en moderne Porsche motoren.
- Ideaal voor herbouw, onderhoud en prestatie-upgrades.
Door de onderdelen van uw koelsysteem te upgraden of te vervangen, zorgt u ervoor dat de motor van uw Porsche efficiënt, duurzaam en klaar voor sportief rijden blijft.
Hoogtepunten:
- Uitgebreid assortiment Porsche-oliekoelers, radiatoren en warmtewisselaars.
- Nauwkeurig ontworpen voor consistente temperatuurregeling.
- Gemaakt van lichtgewicht, corrosiebestendige materialen.
- Ontworpen voor betrouwbaarheid op zowel de weg als in de motorsport.
- Verbetert de smering en beschermt de motorprestaties.
- Ideaal voor onderhoud, herbouw of prestatieverbeteringen.